Curiosii for ever!: Car repair manuals for everyone.

Component Tests

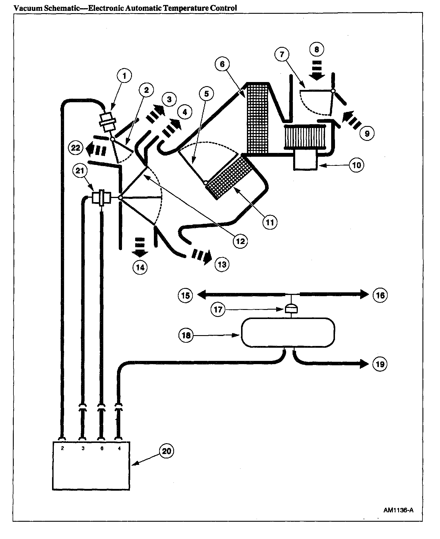
Vacuum Schematic - Electronic Automatic Temperature Control, Part 1:






Vacuum Schematic - Electronic Automatic Temperature Control, Part 2:






Vacuum Connector End View - Electronic Automatic Temperature Control:






Vacuum Applications Chart - Electronic Automatic Temperature Control: