Curiosii for ever!: Car repair manuals for everyone.

Fluid Filter - A/T: Service and Repair

Removal
1. Raise and support the vehicle.
2. Place a drain pan under the transmission fluid pan.





3. Remove the drain plug and drain the fluid.





4. Remove the bracket.





5. Note: The transmission fluid pan gasket is reusable, clean and inspect for damage; if not damaged, the gasket should be reused.

Remove the fluid pan and gasket.





6. Remove and discard the transmission fluid filter.





7. Clean and inspect the transmission fluid pan and magnet.





8. Remove the converter housing plug.





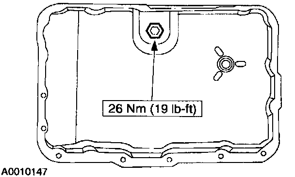
9. Remove the drain plug.

Installation

1. Note: A new converter drain plug must be used to prevent leakage.





Install the drain plug.





2. Install the converter housing access plug.





3. CAUTION: Lubricate the fluid filter O-ring seals with MERCON (R) V Automatic Transmission Fluid XT-5-QM or equivalent meeting Ford specification MERCON (R) V, or they may be damaged.

Note: Make sure that the fluid filter O-ring seals are correctly seated on the filter.

Lubricate the seals and install the transmission fluid filter.





4. Install the oil pan magnet in the transmission fluid pan.

5. Note: The transmission fluid pan gasket is reusable, clean and inspect for damage; if not damaged, the gasket should be reused.





Install the transmission fluid pan and gasket and loosely install the screws.





6. Using a crisscross sequence, tighten the screws.





7. Install the shifter cable bracket.





8. Note: Use a 5/16 inch Allen key to remove the fill plug.

Remove the fill plug.





9. Install the drain plug.

10. Note: Use 3116 inch Allen key to remove the fluid level indicator plug.





Remove the fluid level indicator plug.





11. Fill transmission to the correct fluid level. When the fluid starts to drain from the fluid level hole the transmission is full.
- Use MERCON (R) V Automatic Transmission Fluid XT-5-QM or equivalent meeting Ford specification MERCON (R) V.
12. Carry out fluid level check.