Curiosii for ever!: Car repair manuals for everyone.

Condenser HVAC: Service and Repair

REMOVAL

CAUTION: To prevent system contamination, whenever a new A/C condenser core is installed, also install a new receiver drier.

NOTE: If an A/C condenser core leak is suspected, the A/C condenser core must be leak tested before it is removed from the vehicle.

1. Disconnect the battery. For additional information, refer to Battery.
2. Perform the Refrigerant Discharging and Recovery Procedure.
3. Disconnect the air outlet tube and position aside. For additional information, refer to Fuel Delivery and Air Induction.







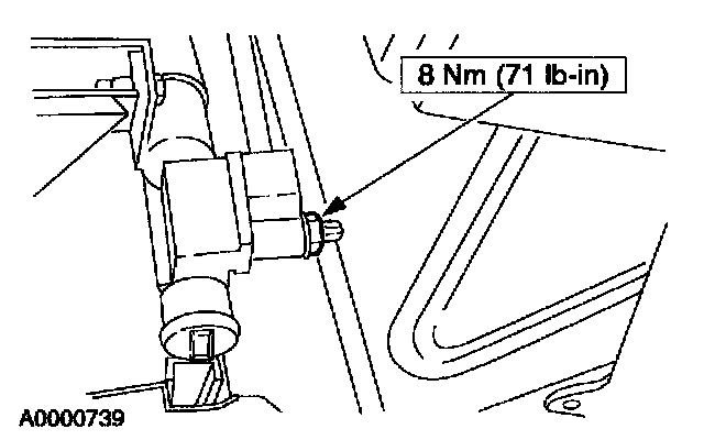
4. Remove the nut and disconnect the peanut fitting from the A/C compressor discharge line.
5. Raise and support the vehicle. For additional information, Refer to Maintenance/Service and Repair.







6. Remove the screws and remove the LH sight shield.







7. Remove the screws and remove the air deflector.







8. Remove the air deflector.
1 Remove the push-pin retainers.
2 Remove the side-clip retainers.







9. Remove the nut and disconnect the peanut fitting from the A/C receiver drier inlet line.







10. Remove the LH bolt.







11. Support the condenser core. Remove the RH bolt and lower the condenser core.


INSTALLATION
1. To install, reverse the removal procedure.
- Service the new A/C condenser core with the correct amount of PAG Refrigerant Compressor Oil YN-12-C, F7AZ-19589-DA or equivalent meeting Ford specification WSH-M1C231-B. Refrigerant Oil Addition
- Lubricate the O-ring seal with PAG Refrigerant Compressor Oil YN-12-C, F7AZ-19589-DA or equivalent meeting Ford specification WSH-M1C231-B.