Curiosii for ever!: Car repair manuals for everyone.

Cruise Control Servo: Service and Repair

REMOVAL

1. Disconnect the battery ground cable.

CAUTION: Electronic modules are sensitive to static electrical charges. If exposed to these charges, damage may result.







2. Disconnect the electrical connector.







3. Depress the locking tab and rotate the speed control actuator cable cap to remove.







4. Disconnect the speed control actuator cable from the speed control servo pulley.
1 Gently push the retaining spring.
2 Disconnect the speed control cable slug from the speed control servo pulley.

NOTE: Opening the throttle will remove speed control actuator cable tension during this step.







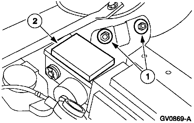
5. Remove the speed control servo and bracket.
1 Remove the speed control servo bracket to vehicle nuts.
2 Remove the speed control servo and bracket.







6. Separate the speed control servo from the bracket.
1 Remove the speed control servo attachment bolts.
2 Separate the speed control servo from the bracket.

INSTALLATION













1. To install, reverse the removal procedure.

NOTE: When the battery is disconnected and reconnected, some abnormal drive symptoms may occur while the vehicle relearns its adaptive strategy. The vehicle may need to be driven 16 km (10 mi) or more to relearn its strategy.