Curiosii for ever!
: Car repair manuals for everyone.
Home
>>
Lincoln
>>
1994
>>
Mark VIII V8-4.6L DOHC
>>
Repair and Diagnosis
>>
Diagrams
>>
Connector Views
>>
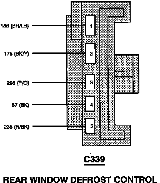
Heated Glass Control Module
Heated Glass Control Module
Rear Window Defrost Control: