Curiosii for ever!
: Car repair manuals for everyone.
Home
>>
Lincoln
>>
1992
>>
Town Car V8-281 4.6L SOHC
>>
Repair and Diagnosis
>>
Powertrain Management
>>
Computers and Control Systems
>>
Main Relay (Computer/Fuel System)
>>
Diagrams
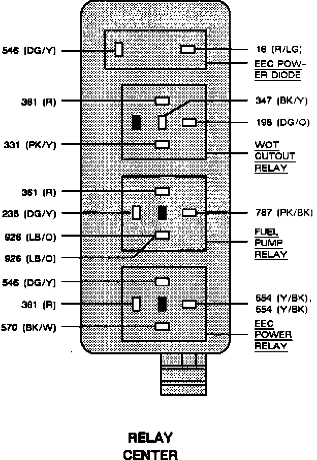
Main Relay (Computer/Fuel System): Diagrams
Relay Center: