Curiosii for ever!: Car repair manuals for everyone.

Information Bus: Description and Operation

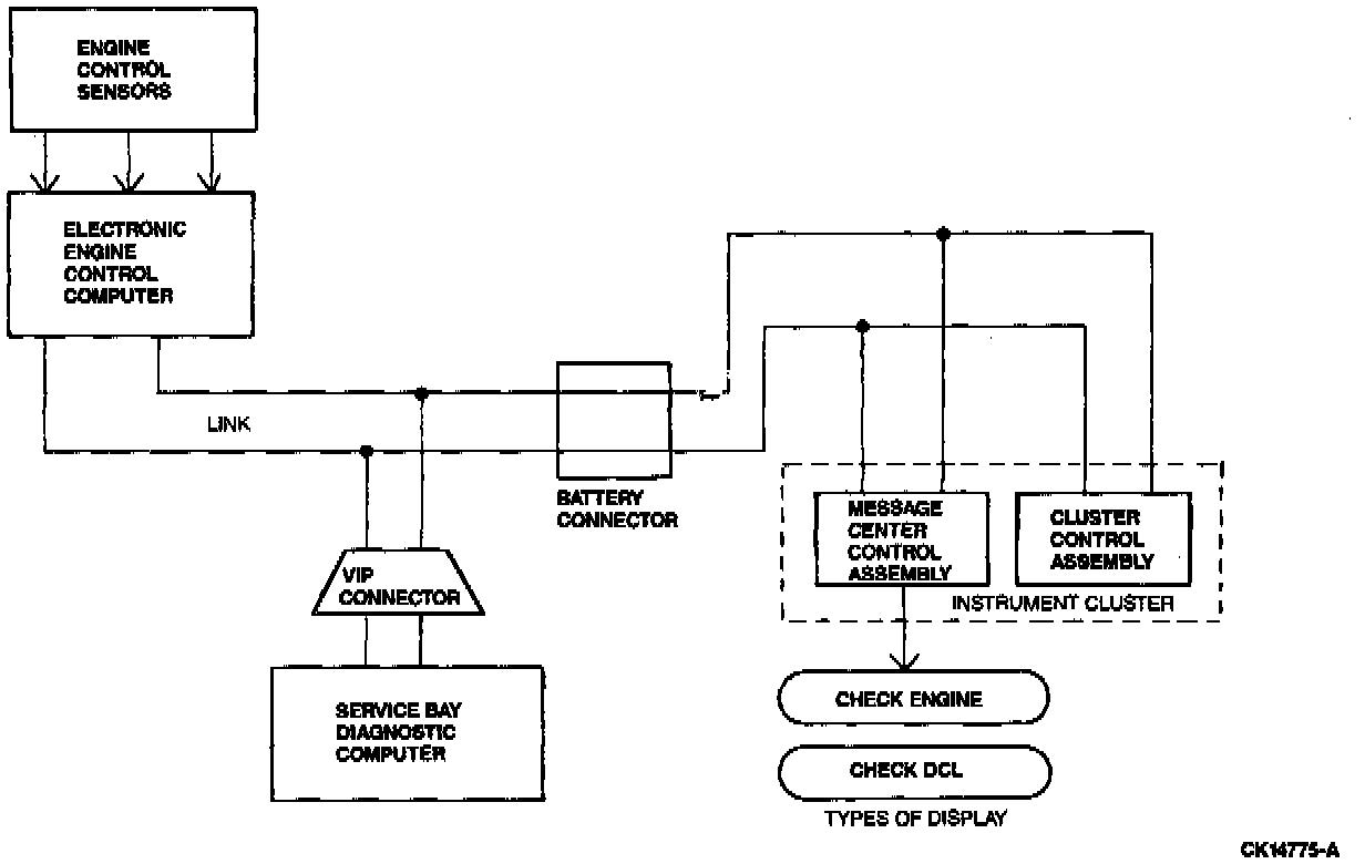
Data Communications Link (DCL) Network:





The Data Communications Link (DCL) is a wiring system that allows the sharing of information between the Electronic Engine Control System (EEC-IV), the Message Center Control Assembly (MCCA), the Cluster Control Assembly (CCA), and external equipment.

The CCA and MCCA are located in the electronic instrument cluster. They cannot be serviced, if failure occurs. Replacement of the instrument cluster is required.

The EEC-IV system transmits the following information through the DCL to the CCA and MCCA:
1. Engine RPM.
2. Engine coolant temperature.
3. EEC-IV malfunction indication.
4. Fuel used.

The CCA transmits the following information through the DCL to the MCCA:

1. Fuel level.
2. Odometer.
3. Speed pulses.
4. English/Metric mode.
5. Vehicle in Accessory/Run (ACC/RUN) mode.
6. Charging system warning.

The DCL system transmits Malfunction Indicator Lamp (MIL) information to the MCCA. The MCCA uses MIL information to generate a CHECK ENGlNE warning in the event of an engine sensor failure.