Curiosii for ever!
: Car repair manuals for everyone.
Home
>>
Lincoln Truck
>>
2012
>>
MKX AWD V6-3.7L
>>
Repair and Diagnosis
>>
Starting and Charging
>>
Starting System
>>
Start / Stop Switch
>>
Testing and Inspection
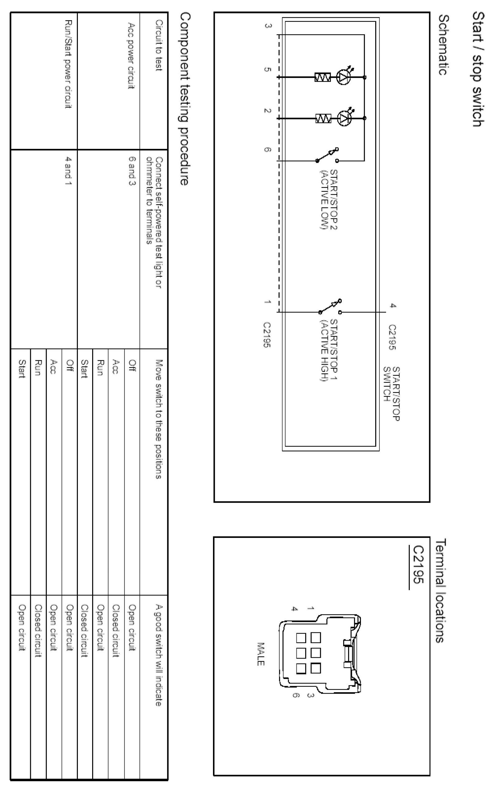
Start / Stop Switch: Testing and Inspection