Curiosii for ever!: Car repair manuals for everyone.

Pinpoint Test AB: The Transmission Control Module (TCM) Does Not Respond To The Scan Tool




Communications Network

Pinpoint Test AB: The Transmission Control Module (TCM) Does Not Respond To The Scan Tool

Refer to Wiring Diagram Set 14, Module Communications Network for schematic and connector information Electrical Diagrams.

Refer to Wiring Diagram Set 29, Transmission Controls - 6 Speed for schematic and connector information Electrical Diagrams.

Normal Operation

The Transmission Control Module (TCM) communicates with the scan tool through the HS-CAN (High Speed Controller Area Network).

This pinpoint test is intended to diagnose the following:

- Fuse

- Wiring, terminals or connectors

- TCM (Transmission Control Module)

PINPOINT TEST AB : THE TCM (Transmission Control Module) DOES NOT RESPOND TO THE SCAN TOOL

NOTICE: Use the correct probe adapter(s) when making measurements. Failure to use the correct probe adapter(s) may damage the connector.

NOTE: Failure to disconnect the battery when instructed results in false resistance readings.

AB1 CHECK THE TCM (Transmission Control Module) VOLTAGE SUPPLY CIRCUIT FOR AN OPEN

- Ignition OFF.

- Disconnect: TCM (Transmission Control Module) C1750.

- Ignition ON.

- Measure the voltage between the TCM (Transmission Control Module), harness side and ground as follows:

TCM (Transmission Control Module) Connector-Pin Circuit C1750-1 SBB56 (VT/RD) C1750-31 SBB56 (VT/RD) C1750-33 CBB90 (YE/OG)






Are the voltages greater than 10 volts?

Yes
GO to AB2.

No
VERIFY the Body Control Module (BCM) fuses 56 (15A) and 90 (10A) are OK. If OK, REPAIR the circuit. If not OK, REFER to the Wiring Diagrams to identify the possible causes of the circuit short Electrical Diagrams. CLEAR the DTCs. REPEAT the network test with the scan tool.

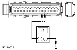
AB2 CHECK THE TCM (Transmission Control Module) GROUND CIRCUIT FOR AN OPEN

- Ignition OFF.

- Disconnect: Negative Battery Cable.

- Measure the resistance between the TCM (Transmission Control Module) C1750-39, circuit GD120 (BK/GN), harness side and ground; and between the TCM (Transmission Control Module) C1750-41, circuit GD120 (BK/GN) harness side and ground.






Is the resistance less than 5 ohms?

Yes
GO to AB3.

No
REPAIR the circuit. CONNECT the negative battery cable. CLEAR the DTCs. REPEAT the network test with the scan tool.

AB3 CHECK THE HS-CAN (High Speed Controller Area Network) CIRCUITS BETWEEN THE TCM (Transmission Control Module) AND THE DLC (Data Link Connector) FOR AN OPEN

- Measure the resistance between the TCM (Transmission Control Module) C1750-47, circuit VDB04 (WH/BU), harness side and the DLC (Data Link Connector) C251-6, circuit VDB04 (WH/BU), harness side.






- Measure the resistance between the TCM (Transmission Control Module) C1750-48, circuit VDB05 (WH), harness side and the DLC (Data Link Connector) C251-14, circuit VDB05 (WH), harness side.






Are the resistances less than 5 ohms?

Yes
CONNECT the negative battery cable. GO to AB4.

No
REPAIR the circuit in question. CONNECT the negative battery cable. CLEAR the DTCs. REPEAT the network test with the scan tool.

AB4 CHECK FOR CORRECT TCM (Transmission Control Module) OPERATION

- Disconnect the TCM (Transmission Control Module) connector.

- Check for:
- corrosion

- damaged pins

- pushed-out pins


- Connect the TCM (Transmission Control Module) connector and make sure it seats correctly.

- Operate the system and verify the concern is still present.

Is the concern still present?

Yes
INSTALL a new TCM (Transmission Control Module). CLEAR the DTCs. REPEAT the network test with the scan tool.

No
The system is operating correctly at this time. The concern may have been caused by a loose or corroded connector. CLEAR the DTCs. REPEAT the network test with the scan tool.