Core Plug Replacement
Core Plug Replacement
NOTICE: It is necessary to use High Temperature Retaining Compound Loctite(R) 620(TM)/Permatex(R) 62050 or equivalent on all 3 valve modular engine cylinder head cup plugs. If not used, the cylinder head cup plugs could leak or seep, causing serious engine damage.
NOTE: Use threadlock 262 on all other applications.
All core plugs
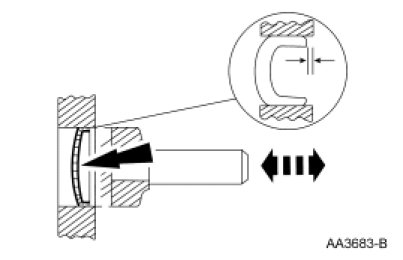
1. NOTE: Cylinder block core plug shown, cylinder head core plug similar.
Use the Slide Hammer and a freeze plug remover to remove the core plug.
2. NOTE: Oversize plugs are identified by the OS stamped in the flat located on the cup side of the plug.
Inspect the core plug bore for any damage that would interfere with the correct sealing of the plug. If the core plug bore is damaged, bore for the next oversize plug.
Cup-type
3. NOTICE: Use care during this procedure so as not to disturb or distort the cup sealing surface.
NOTE: When installed, the flanged edge must be below the chamfered edge of the bore to effectively seal the bore.
Coat the cup-type core plug and bore lightly with sealant and install the core plug using a freeze plug installer.
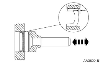
Expansion-type
4. NOTICE: Do not contact the crown when installing an expansion-type core plug. This could expand the plug before seating and result in leakage.
Coat the expansion-type core plug and bore lightly with sealant and install the core plug using a freeze plug installer.