Curiosii for ever!: Car repair manuals for everyone.

Blower Motor Switch




Blower Motor Switch









Removal and Installation

1. Remove the climate control module. For additional information, refer to Heating Ventilation Air Conditioning (HVAC) Module - Edge Heating Ventilation Air Conditioning (HVAC) Module.

2. Pull to remove the blower motor switch knob.

3. Remove the blower motor switch nut.





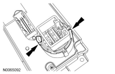
4. Release the 2 retaining tabs with the index finger on each hand, while depressing the blower motor switch shaft with the thumbs to remove the blower motor switch.





5. To install, reverse the removal procedure.