Curiosii for ever!: Car repair manuals for everyone.

System Specifications

Cylinder Head
The cylinder head must not have depressions deeper than 0.0254 mm (0.001 in) across a 38.1 mm (1.5 in) square area, or scratches more than 0.0254 mm (0.001 in).

Cylinder Head Bolts

NOTE: The cylinder head bolts must be discarded and new bolts must be installed. They are tighten-to-yield designed and cannot be reused.








First pass 20 Nm (15 lb-ft).
Second pass 35 Nm (26 lb-ft).
Third pass Tighten 90°
Fourth pass Tighten 90°
Final pass Tighten 90°

Lower Intake Manifold Bolts 10 Nm (89 lb-in).





Upper Intake Manifold Bolts 10 Nm (89 lb-in).





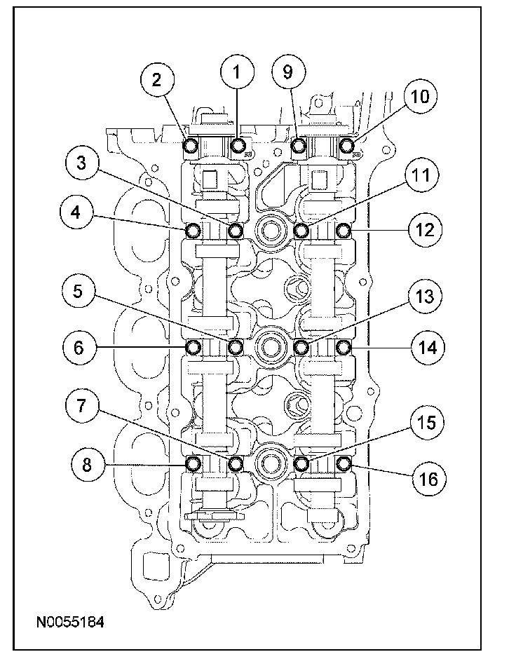
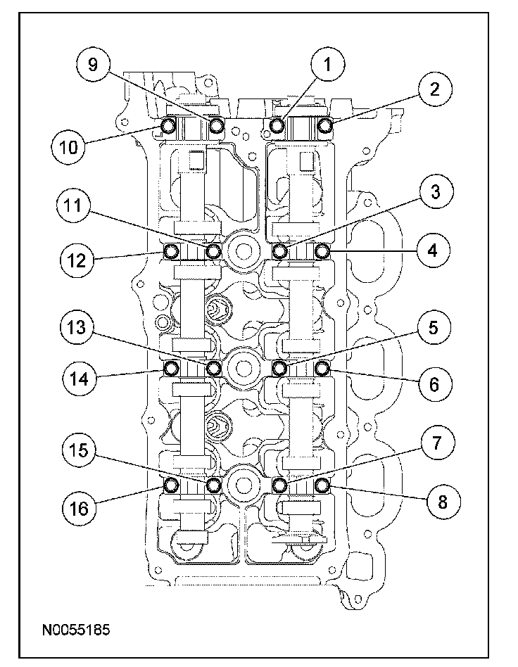
Camshaft Bearing Cap Bolts 10 Nm (89 lb-in).








Camshaft Sprocket Bolts
Discard VCT assembly bolts and exhaust camshaft sprocket bolts
First pass 40 Nm (30 lb-ft).
Second pass Loosen one full turn
Third pass 10 Nm (89 lb-in).
Final pass Tighten 90°

Exhaust Manifold Studs 12 Nm (9 lb-ft).
Discard the studs

Exhaust Manifold Nuts
Discard the nuts








First pass 20 Nm (15 lb-ft).
Final pass 20 Nm (15 lb-ft).