Curiosii for ever!: Car repair manuals for everyone.

Stator Support and Gear Assembly

Stator Support and Gear Assembly

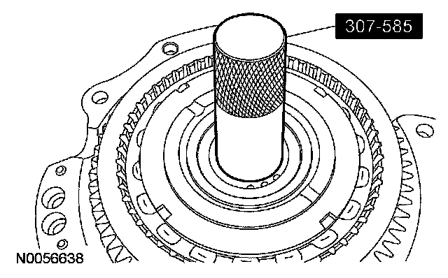
Special Tool(s):





Disassembly
1. Remove and discard the stator support assembly seal.





2. Using the special tools, remove and discard the input shaft seal.





3. Remove the drive sprocket thrust washer.





4. Using a suitable tool, remove the stator support-to-torque converter seal.





5. NOTE: Note the location of the Torx(R) head and the hex head bolts for assembly.

Remove the 4 bolts and the stator support feed tube.





6. Remove and discard the gasket for the feed tube assembly.





7. Clean and inspect the stator support assembly for damage and replace if necessary.

Assembly
1. Install the special tool on the stator support assembly.





2. Install a new seal on the special tool.





3. Using the special tool, slide the seal on to the stator support assembly.





4. Remove the special tool from the stator support assembly.





5. Install the special tool on the stator support assembly to size the seal.





6. Install a new gasket on the stator support assembly.





7. Install the stator support feed tube assembly.
1 Position the feed tube assembly in place and install the bolts hand tight.
2 Tighten the 2 Torx(R) head bolts.
^ Tighten to 7 Nm (62 inch lbs).
3 Tighten the 2 hex head bolts.
^ Tighten to 12 Nm (9 ft. lbs).





8. Install the drive sprocket thrust washer.





9. Install a new input shaft seal on the special tool.





10. Using the special tool, install the input shaft seal.





11. Remove the special tool from the stator support assembly.