Curiosii for ever!: Car repair manuals for everyone.

System Specifications

Cylinder Head

Inspect all areas of the deck face with a straightedge and feeler gauge. The cylinder head must not have depressions deeper than 0.0254 mm (0.001 inch) across a 38.1 mm (1.5 inch) square area, or scratches more than 0.0254 mm (0.001 inch).

Cylinder Head Bolts








The cylinder head bolts must be discarded and new bolts must be installed. They are tighten-to-yield designed and cannot be reused.

First pass 20 Nm (15 ft. lbs).
Second pass 35 Nm (26 ft. lbs).
Third pass Tighten 90°
Fourth pass Tighten 90°
Final pass Tighten 90°

Cylinder Head M6 Bolts 10 Nm (89 inch lbs).

Remove and discard the M6 bolts.








Upper intake manifold bolts 10 Nm (89 inch lbs).





Lower intake manifold bolts 10 Nm (89 inch lbs).





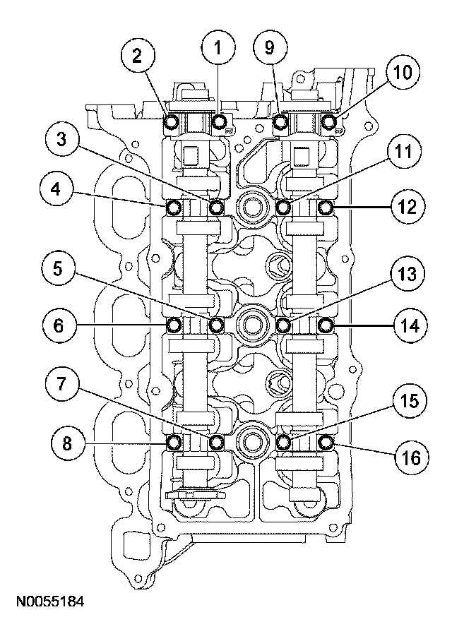
Camshaft bearing cap bolts 10 Nm (89 inch lbs).








Camshaft Sprocket Bolts

Remove and discard the camshaft sprocket bolts.

First pass 40 Nm (30 ft. lbs).
Second pass Loosen one full turn
Third pass 10 Nm (89 inch lbs)
Final pass Tighten 90°

Exhaust Manifold








Discard the nuts and studs.

Studs 12 Nm (9 ft. lbs).
Nuts 20 Nm (15 ft. lbs).