Curiosii for ever!
: Car repair manuals for everyone.
Home
>>
Lincoln Truck
>>
2003
>>
Aviator 2WD V8-4.6L DOHC
>>
Repair and Diagnosis
>>
Diagrams
>>
Connector Views
>>
Automatic Transmission/Transaxle
>>
System Diagram
>>
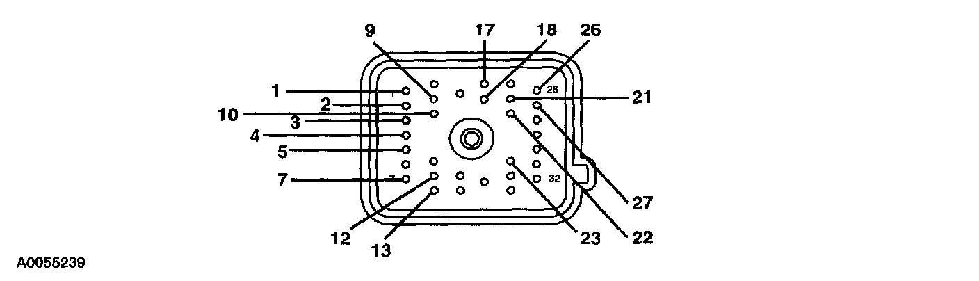
Powertrain Control Module (PCM)
Powertrain Control Module (PCM)
Powertrain Control Module (PCM)
Part 1 Of 3:
Part 2 Of 3:
Part 3 Of 3: