Curiosii for ever!: Car repair manuals for everyone.

Installation





AUDIO / VISUAL: MULTI-MEDIA INTERFACE ECU: INSTALLATION

HINT
A bolt without a torque specification is shown in the standard bolt chart Standard Bolt - Specified Torque For Standard Bolts.

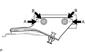
1. INSTALL NO. 1 MULTI-MEDIA INTERFACE BRACKET

(a) Set the aligning protrusions of the bracket, labeled A, into the holes of the multi-media interface ECU.





(b) Install the No. 1 multi-media interface bracket with the 2 screws labeled B.

2. INSTALL NO. 2 MULTI-MEDIA INTERFACE BRACKET

(a) Set the aligning protrusions of the bracket, labeled A, into the holes of the multi-media interface ECU.





(b) Install the No. 2 multi-media interface bracket with the 2 screws labeled B.

3. INSTALL MULTI-MEDIA INTERFACE ECU

(a) Install the multi-media interface ECU with the 2 bolts.





(b) Connect the 3 connectors.

4. INSTALL PACKAGE TRAY TRIM PANEL ASSEMBLY Installation

5. INSTALL INNER ROOF SIDE GARNISH RH Installation

6. INSTALL INNER ROOF SIDE GARNISH LH Installation

7. INSTALL REAR SEAT SIDE GARNISH RH Installation

8. INSTALL REAR SEAT SIDE GARNISH LH Installation

9. INSTALL REAR SEAT ASSEMBLY

(a) for Power Seat:

Install the rear seat assembly Installation.

(b) for 4-Passenger with Ottoman:

Install the rear seat assembly Installation.

(c) for 5-Passenger with Ottoman:

Install the rear seat assembly Installation.

(d) for Fixed Seat:

Install the rear seat assembly Installation.

10. INSTALL REAR DOOR SCUFF PLATE LH

(a) for Standard Body:

(1) Install the rear door scuff plate LH Installation.

(b) for Long Body:

(1) Install the rear door scuff plate LH Installation.

11. INSTALL REAR DOOR SCUFF PLATE RH

(a) for Standard Body:

(1) Install the rear door scuff plate RH Installation.

(b) for Long Body:

(1) Install the rear door scuff plate RH Installation.

12. CONNECT CABLE TO NEGATIVE BATTERY TERMINAL

NOTICE:
When disconnecting the cable, some systems need to be initialized after the cable is reconnected Repair Instruction - Initialization.