Curiosii for ever!: Car repair manuals for everyone.

System Diagram





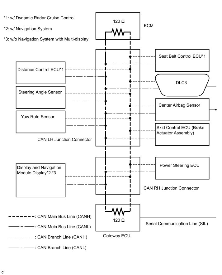
NETWORKING: CAN COMMUNICATION SYSTEM: SYSTEM DIAGRAM





HINT
* The skid control ECU detects and stores steering angle sensor and yaw rate sensor DTCs and performs DTC communication by receiving information from the steering angle sensor and yaw rate sensor.
* The ECM detects and stores distance control ECU DTCs, and performs DTC communication by receiving information from the distance control ECU.