Curiosii for ever!: Car repair manuals for everyone.

Reassembly





2GR-FSE BATTERY / CHARGING: GENERATOR: REASSEMBLY

1. INSTALL GENERATOR ROTOR ASSEMBLY

(a) Place the drive end frame on the clutch pulley.

(b) Install the generator rotor assembly to the drive end frame.





(c) Place a new generator washer on the generator rotor.





2. INSTALL GENERATOR CLUTCH PULLEY

(a) Temporarily install the clutch pulley onto the rotor shaft.

(b) Mount the generator drive end frame in a vise tightly.

(c) Confirm SST (A) and (B) shown in the illustration.





Text in Illustration





SST : 09820-63021

(d) Place the rotor shaft end into SST (A).





Text in Illustration





(e) Fit SST (B) to the clutch pulley.





Text in Illustration





(f) Tighten the pulley by turning SST (B) in the direction shown in the illustration.





Text in Illustration





without SST - Torque : 80 Nm (816 kgf-cm, 59 ft-lbf)

with SST - Torque : 58 Nm (591 kgf-cm, 43 ft-lbf)

NOTICE:
* Use a torque wrench with a fulcrum length of 260 mm (10.24 in.).
* This torque value is effective when SST is parallel to the torque wrench.
* Check that the drive end frame is secured in the vise tightly.
* Hold SST (A) tightly during the operation.

(g) Remove the generator assembly from SST.

(h) Check that the clutch pulley rotates smoothly.

(i) Install a new generator pulley cap to the clutch pulley.

3. INSTALL GENERATOR COIL ASSEMBLY

(a) Using a deep socket wrench (21 mm) and a press, slowly press in the generator coil assembly.





Text in Illustration





(b) Install the 4 bolts.





Torque : 5.9 Nm (60 kgf-cm, 52 in-lbf)

4. INSTALL GENERATOR BRUSH HOLDER ASSEMBLY

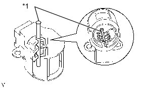
(a) While pushing the 2 brushes into the generator brush holder assembly, insert a 1.0 mm (0.0394 in.) diameter pin into the brush holder hole.





Text in Illustration





(b) Install the brush holder assembly to the generator coil with the 2 screws.





Text in Illustration





Torque : 1.8 Nm (18 kgf-cm, 16 in-lbf)

(c) Pull out the pin from the generator brush holder.

5. INSTALL GENERATOR TERMINAL INSULATOR

(a) Install the terminal insulator to the generator coil.





NOTICE:
Pay attention to the installation direction of the terminal insulator.

6. INSTALL GENERATOR REAR END COVER

(a) Install the generator rear end cover to the generator coil with the 3 nuts.





Torque : 4.6 Nm (47 kgf-cm, 41 in-lbf)