Curiosii for ever!: Car repair manuals for everyone.

Removal





WINDOW / GLASS: WINDSHIELD GLASS: REMOVAL

1. REMOVE COOL AIR INTAKE DUCT SEAL Removal

2. REMOVE ENGINE ROOM SIDE COVER LH Removal

3. REMOVE ENGINE ROOM SIDE COVER RH Removal

4. REMOVE FRONT UPPER FENDER PROTECTOR LH Removal

5. REMOVE FRONT UPPER FENDER PROTECTOR RH

HINT
Use the same procedure for the RH side and LH side.

6. REMOVE FRONT PILLAR UPPER COVER ASSEMBLY LH Removal

7. REMOVE ROOF DRIP SIDE FINISH MOULDING LH Removal

8. REMOVE FRONT PILLAR UPPER COVER ASSEMBLY RH

HINT
Use the same procedure for the RH side and LH side.

9. REMOVE ROOF DRIP SIDE FINISH MOULDING RH

HINT
Use the same procedure for the RH side and LH side.

10. REMOVE FRONT WIPER ARM HEAD CAP Removal

11. REMOVE FRONT WIPER ARM AND BLADE ASSEMBLY LH Removal

12. REMOVE FRONT WIPER ARM AND BLADE ASSEMBLY RH Removal

13. REMOVE COWL TOP VENTILATOR LOUVER SUB-ASSEMBLY Removal

14. OPEN METALTOP ROOF Removal

15. REMOVE DOOR SCUFF PLATE ASSEMBLY LH Removal

16. REMOVE FRONT DOOR OPENING TRIM COVER LH Removal

17. REMOVE FRONT PILLAR GARNISH LH Removal

18. REMOVE DOOR SCUFF PLATE ASSEMBLY RH

HINT
Use the same procedure for the RH side and LH side.

19. REMOVE FRONT DOOR OPENING TRIM COVER RH

HINT
Use the same procedure for the RH side and LH side.

20. REMOVE FRONT PILLAR GARNISH RH

HINT
Use the same procedure for the RH side and LH side.

21. REMOVE MAP LIGHT ASSEMBLY Removal

22. REMOVE VISOR BRACKET COVER (for LH Side) Removal

23. REMOVE VISOR ASSEMBLY LH Removal

24. REMOVE VISOR HOLDER (for LH Side) Removal

25. REMOVE VISOR BRACKET COVER (for RH Side)

HINT
Use the same procedure for the RH side and LH side.

26. REMOVE VISOR ASSEMBLY RH

HINT
Use the same procedure for the RH side and LH side.

27. REMOVE VISOR HOLDER (for RH Side)

HINT
Use the same procedure for the RH side and LH side.

28. REMOVE FRONT ROOF PROTECTOR LH Removal

29. REMOVE FRONT ROOF PROTECTOR RH

HINT
Use the same procedure for the RH side and LH side.

30. REMOVE RAIN SENSOR (w/ Rain Sensor) Removal

31. REMOVE RAIN SENSOR TAPE (w/ Rain Sensor)

(a) Remove the rain sensor tape.

32. REMOVE INNER REAR VIEW MIRROR STAY HOLDER COVER Removal

33. REMOVE INNER REAR VIEW MIRROR ASSEMBLY Removal

34. REMOVE ROOF HEADLINING ASSEMBLY Removal

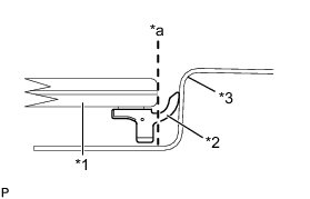
35. REMOVE WINDSHIELD OUTSIDE MOULDING

(a) Using a knife, cut off the moulding as shown in the illustration.





Text in Illustration





NOTICE:
* Do not damage the vehicle body with the knife.
* If the vehicle body is damaged, repair the damaged portion by applying an anti-rust coating after removing the windshield glass.

(b) Remove the remaining windshield outside moulding from the windshield glass.

NOTICE:
When removing the windshield outside moulding, make a partial cut, and then pull and remove it by hand.

36. REMOVE WINDSHIELD GLASS

(a) Disconnect each connector.

(b) Apply protective tape to the vehicle body around the windshield glass.





Text in Illustration





HINT
Apply protective tape to the vehicle body to prevent it from being scratched.

(c) Pass a piano wire between the vehicle body and glass from the interior.





Text in Illustration





(d) Tie both wire ends to wooden blocks or similar objects.

(e) Cut off the adhesive by pulling the piano wire around the glass.

NOTICE:
* When separating the glass, take care not to damage the paint or interior and exterior ornaments.
* To prevent the safety pad from being scratched when removing the glass, place a plastic sheet between the piano wire and safety pad.

(f) Place matchmarks on the windshield glass and vehicle body on the locations indicated in the illustration.





Text in Illustration





HINT
Matchmarks are not needed to be placed if the glass will not be reused.

(g) Disconnect the windshield glass stoppers.





Text in Illustration





NOTICE:
* There are No. 1 and No. 2 stoppers on the windshield glass as shown in the illustration. Be careful not to damage the windshield glass when cutting off the adhesive.
* To prevent the windshield glass from dropping when performing this operation, be sure to hold the windshield glass using suction cups.

HINT
Depending on the vehicle, 1-piece or 2-piece type stoppers are used.

(h) Using suction cups, remove the windshield glass.

NOTICE:
* Be careful not to drop the windshield glass.
* Leave as much adhesive on the vehicle body as possible when removing the windshield glass.

37. REMOVE WINDSHIELD GLASS ADHESIVE DAM

(a) Using a scraper, remove the windshield glass adhesive dam.





NOTICE:
* Be careful not to damage the windshield glass.
* Be sure to replace the window glass adhesive dam with a new one.

38. REMOVE NO. 1 WINDSHIELD GLASS STOPPER (for 1-piece Type)

(a) Using a scraper, remove the 2 No. 1 windshield glass stoppers.





NOTICE:
* Be careful not to damage the windshield glass.
* Be sure to replace the No. 1 windshield glass stoppers with new ones.

39. REMOVE NO. 2 WINDSHIELD GLASS STOPPER (for 2-piece Type)

(a) Using a scraper, remove the 2 No. 2 windshield glass stoppers.





NOTICE:
* Be careful not to damage the windshield glass.
* Be sure to replace the No. 2 windshield glass stoppers with new ones.

40. REMOVE NO. 1 WINDSHIELD GLASS STOPPER (for 2-piece Type)

(a) Remove the 2 No. 1 windshield glass stoppers as shown in the illustration.





NOTICE:
Be sure to replace the No. 1 windshield glass stoppers with new ones.

41. CLEAN WINDSHIELD GLASS

(a) Using a scraper, remove the damaged stoppers, dam and adhesive sticking to the glass.





NOTICE:
Be careful not to damage the windshield glass.

(b) Clean the outer circumference of the windshield glass with a non-residue solvent.

NOTICE:
* Do not touch the windshield glass surface after cleaning it.
* Even if using a new windshield glass, clean the windshield glass with a non-residue solvent.

42. CLEAN VEHICLE BODY

(a) Clean and shape the contact surface of the vehicle body.





Text in Illustration





(1) Using a knife, cut away any rough adhesive on the contact surface of the vehicle body to ensure the appropriate surface shape.

NOTICE:
Be careful not to damage the vehicle body.

HINT
Leave as much adhesive on the vehicle body as possible.

(2) Clean the contact surface of the vehicle body with a piece of cloth saturated with cleaner.

HINT
Even if all the adhesive has been removed, clean the vehicle body.