Curiosii for ever!: Car repair manuals for everyone.

Installation





WINDOW / GLASS: QUARTER WINDOW GLASS: INSTALLATION

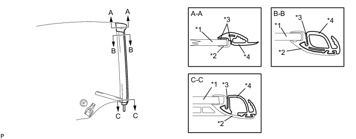
1. INSTALL QUARTER WINDOW FRONT WEATHERSTRIP

(a) Using a brush or a sponge, coat the application area of the adhesive with Primer G as shown in the illustration.





Text in Illustration





Standard Dimension:





NOTICE:
* Do not apply too much primer.
* Allow the primer to dry for 3 minutes or more.
* Throw away any leftover primer.

HINT
* If primer is applied to an area that is not specified, wipe off the primer with a non-residue solvent before it dries.
* Apply primer to a new quarter window front weatherstrip.

(b) Apply adhesive to the part of the quarter window front weatherstrip shown in the illustration that contacts the quarter window assembly.

Adhesive:

Toyota Genuine Windshield Glass Adhesive or equivalent





Text in Illustration





NOTICE:
Allow the adhesive to dry for 3 minutes or more.

(c) Pull on the new quarter window front weatherstrip as shown in the illustration to pull it into the grooves of the quarter window front weatherstrip retainer.





(d) Apply adhesive between the quarter window front weatherstrip and quarter window front weatherstrip retainer.

Adhesive:

Toyota Genuine Windshield Glass Adhesive or equivalent





Text in Illustration





NOTICE:
Allow the primer to dry for 3 minutes or more.

(e) Apply instant adhesive (cyanoacrylate) to the quarter window front weatherstrip at the position indicated in the illustration and install the quarter window front weatherstrip.





Text in Illustration





NOTICE:
Make sure not to apply too much adhesive. If too much adhesive is applied, it will drip onto the visible part of the quarter window front weatherstrip retainer, resulting in damage.

(f) Lightly push the quarter window front weatherstrip to fully attach it.

HINT
Press the glass with a force of 98 N (10 kgf, 22 lbf) or more.

(g) Remove any excess Toyota genuine windshield glass adhesive before it sets.

(h) Hold the quarter window front weatherstrip using protective tape until the applied adhesive becomes hard.

NOTICE:
Do not drive the vehicle within the time described in the table below.

Minimum Time:





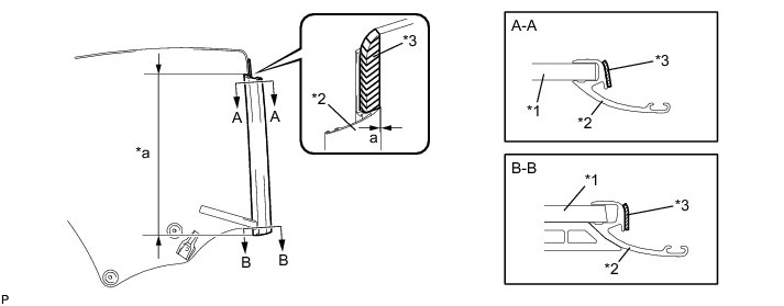
(i) After installing the quarter window front weatherstrip, cut the quarter window front weatherstrip at the location shown in the illustration.





Text in Illustration





2. INSTALL QUARTER WINDOW STOP

(a) Install the 2 quarter window stops with the 2 bolt.





Torque : 8.0 Nm (82 kgf-cm, 71 in-lbf)

3. INSTALL QUARTER WINDOW ASSEMBLY

(a) When reusing the quarter window and quarter window regulator:

(1) Temporarily install the quarter window with the 3 nuts.





(2) Align the matchmarks and tighten the 3 nuts.





Text in Illustration





(b) When replacing the quarter window or quarter window regulator with a new one:

(1) Align each quarter window installation bolt near the center of its hole in the quarter window regulator and install the quarter window with the 3 nuts.





4. INSTALL QUARTER WINDOW GLASS FEMALE STABILIZER

(a) Install the quarter window glass female stabilizer with the bolt.





Torque : 8.3 Nm (85 kgf-cm, 73 in-lbf)

5. INSTALL QUARTER WINDOW WITH REGULATOR ASSEMBLY

(a) Using a 4 mm hexagon wrench, adjust the stud bolt on the lower part of the quarter window regulator assembly to the specified range.





Standard Dimension:





(b) Apply MP grease to the sliding parts on the quarter window regulator assembly.

(c) Install the quarter window shims.

(d) Temporarily install the quarter window with regulator assembly with the 2 bolts and 4 nuts.





Text in Illustration





Bolt - Torque : 8.0 Nm (82 kgf-cm, 71 in-lbf)

Nut (A) - Torque : 13 Nm (133 kgf-cm, 10 ft-lbf)

Nut (B) - Torque : 5.5 Nm (56 kgf-cm, 49 in-lbf)

(e) Tighten the 2 bolts and 4 nuts to install the quarter window with regulator assembly.

6. MANUALLY OPEN QUARTER WINDOW ASSEMBLY

(a) Connect the positive (+) lead of the battery to terminal 2, and the negative (-) lead to terminal 1 of a power window regulator motor assembly to move the lift arm to the position shown in the illustration.





NOTICE:
Do not damage the quarter window glass.

7. INSTALL REAR SPEAKER ASSEMBLY Installation

8. INSTALL FRONT SEAT OUTER BELT ASSEMBLY Installation

9. INSTALL LUGGAGE COMPARTMENT DOOR WEATHERSTRIP

(a) Clean the vehicle body surface.

(1) Remove the double-sided tape from the vehicle body.

(2) Wipe off any tape adhesive residue with cleaner.

(b) Install the luggage compartment door weatherstrip.





Text in Illustration





(c) Engage the 4 clips.





Text in Illustration





(d) Engage the 4 clips and install the luggage compartment door weatherstrip.





Text in Illustration





10. INSTALL BACK DOOR STOPPER CUSHION LH

HINT
When installing the back door stopper cushion LH, heat the vehicle body using a heat light.

Heating Temperature





NOTICE:
Do not heat the vehicle body excessively.

(a) Clean the vehicle body surface.

(1) Using a heat light, heat the vehicle body surface.

(2) Remove the double-sided tape from the vehicle body.

(3) Wipe off any tape adhesive residue with cleaner.

(b) Install the back door stopper cushion LH.





Text in Illustration





(1) Using a heat light, heat the vehicle body.

(2) Remove the release paper from the back door stopper cushion LH.

HINT
After removing the release paper, keep the exposed adhesive free from foreign matter.

(3) Engage the 2 claws and install a new back door stopper cushion LH.

(4) Install the 2 screws.

Torque : 5.5 Nm (56 kgf-cm, 49 in-lbf)

11. INSTALL BACK DOOR STOPPER CUSHION RH

HINT
Use the same procedure for the RH side and the LH side.

12. INSTALL CENTER PILLAR UPPER END WEATHERSTRIP

HINT
When installing the center pillar upper end weatherstrip, heat the vehicle body using a heat light.

Heating Temperature





NOTICE:
Do not heat the vehicle body excessively.

(a) Clean the vehicle body surface.

(1) Using a heat light, heat the vehicle body surface.

(2) Remove the double-sided tape from the vehicle body.

(3) Wipe off any tape adhesive residue with cleaner.

(b) Install the center pillar upper end weatherstrip.





Text in Illustration





(1) Using a heat light, heat the vehicle body.

(2) Remove the release paper from the center pillar upper end weatherstrip.

HINT
After removing the release paper, keep the exposed adhesive free from foreign matter.

(3) Engage the 6 clips and install a new center pillar upper end weatherstrip.

13. INSPECT QUARTER WINDOW ASSEMBLY

(a) Connect the cable to the negative (-) battery terminal and the power window regulator motor connector.

(b) Initialize power window control system.

Initialization

(c) Close the metaltop roof.

(d) Close the quarter window.

(e) Check that the clearance measurements of areas A through H are within each standard range.





Standard Clearance





NOTICE:
Be careful that each weatherstrip is not cut during quarter window adjustment.

14. ADJUST QUARTER WINDOW ASSEMBLY

(a) Disconnect the cable from the negative (-) battery terminal.

NOTICE:
After the engine switch is turned off, the display and navigation module display (HDD navigation system) records various types of memory and settings. As a result, after turning the engine switch off, make sure to wait at least 60 seconds before disconnecting the cable from the negative (-) battery terminal Service Precautions.

(b) Disconnect the power window regulator motor connector.

(c) Adjust the lateral movement of the top of the quarter window.

(1) Loosen the nut on the lower part of the quarter window regulator.

(2) Using a 4 mm hexagon wrench, rotate the stud bolt to adjust the lateral movement of the top of the quarter window.





HINT
The top of the quarter window tilts toward the outside of the cabin when the stud bolt is turned counterclockwise, and it tilts toward the inside of the cabin when the stud bolt is turned clockwise.

(3) Tighten the nut after the adjustment.

Torque : 13 Nm (133 kgf-cm, 10 ft-lbf)

(d) Adjust the lateral movement of the lower part of the quarter window.

(1) Loosen the 2 bolts for the top of the front door window regulator assembly.

(2) Loosen the 2 bolts for the top of the quarter window regulator assembly.

(3) Change the number of window regulator shims to adjust the lateral movement of the lower part of the quarter window.





HINT
The lower part of the quarter window moves toward the outside of the cabin when more window regulator shims are used, and it moves toward the inside of the cabin when less shims are used.

(4) Tighten the 2 bolts after completing the adjustment.

Torque : 8.0 Nm (82 kgf-cm, 71 in-lbf)

(e) Adjust the vertical and longitudinal movement when the quarter window is fully closed.

(1) Connect the positive (+) lead of the battery to terminal 2, and the negative (-) lead to terminal 1 of a power window regulator motor assembly to move the lift arm to the position shown in the illustration.





NOTICE:
Do not damage the quarter window glass.

(2) Loosen the 2 quarter window stop installation bolts and temporarily tighten the quarter window stops at the uppermost position.

(3) Connect the positive (+) lead of a battery to terminal 1, and the negative (-) lead to terminal 2 of the power window regulator motor assembly to move the lift arm to the position shown in the illustration.





NOTICE:
Do not damage the quarter window glass.

(4) Stop the quarter window approximately 3 mm (0.118 in.) before the fully closed position.

(5) Loosen the 3 quarter window installation nuts.

(6) By lifting the quarter window, move it vertically and longitudinally to adjust its position.





HINT
Estimate the correct adjustment of the glass by comparing it to the profile of the roof weatherstrip.

(7) Tighten the 3 nuts while holding the glass in position.

(8) Connect the positive (+) lead of a battery to terminal 1, and the negative (-) lead to terminal 2 of the power window regulator motor assembly to move the lift arm to the position shown in the illustration.





NOTICE:
* If the glass is moved too high, the roof weatherstrip may be damaged.
* Do not damage the quarter window glass.

HINT
* Determine the fully closed position by referring to the measurements for areas C and E, and F and H in the Glass Target Position diagram.
* Double check the measurement for area A in the Glass Target Position diagram at this time. If area A requires adjustment, return to step A.

Loosen the 2 quarter window stop installation bolts.

While lightly pushing the quarter window stops toward the quarter window regulator assembly, tighten the 2 bolts.

(f) Connect the cable to the negative (-) battery terminal and the power window regulator motor connector.

(g) Initialize power window control system.

Initialization

(h) Open the metaltop roof.

Removal

(i) Disconnect the cable from the negative (-) battery terminal.

NOTICE:
After the engine switch is turned off, the display and navigation module display (HDD navigation system) records various types of memory and settings. As a result, after turning the engine switch off, make sure to wait at least 60 seconds before disconnecting the cable from the negative (-) battery terminal Service Precautions.

(j) Disconnect the power window regulator motor connector.

15. INSTALL QUARTER SERVICE HOLE COVER

(a) Engage the grommet.





Text in Illustration





(b) Install the quarter service hole cover with the 2 bolts and 2 nuts.

(c) Engage the clamp.

(d) Connect the connector.

16. INSTALL QUARTER TRIM BRACKET LH

(a) Install the quarter trim bracket LH with the 2 bolts.





17. INSTALL QUARTER TRIM BRACKET RH (for RH Side)

(a) Install the quarter trim bracket RH with the 3 bolts.





18. INSTALL FRONT QUARTER TRIM PANEL ASSEMBLY LH Installation

19. CONNECT FRONT SEAT OUTER BELT ASSEMBLY LH Installation

20. INSTALL FRONT QUARTER TRIM PANEL ASSEMBLY RH (for RH Side) Installation

21. CONNECT FRONT SEAT OUTER BELT ASSEMBLY RH (for RH Side) Installation

22. INSTALL LAP BELT OUTER ANCHOR COVER Installation

23. INSTALL DOOR SCUFF PLATE ASSEMBLY Installation

24. INSTALL REAR SEATBACK ASSEMBLY WITH REAR CONSOLE BOX ASSEMBLY Installation

25. INSTALL REAR SEAT CUSHION ASSEMBLY LH Installation

26. INSTALL REAR SEAT CUSHION ASSEMBLY RH Installation

27. INSTALL PACKAGE TRAY TRIM GARNISH LH Installation

28. INSTALL PACKAGE TRAY TRIM GARNISH RH Installation

29. CONNECT CABLE TO NEGATIVE BATTERY TERMINAL

30. CLOSE METALTOP ROOF

(a) Close the metaltop roof.

31. INSPECT SRS WARNING LIGHT

Diagnosis System