Curiosii for ever!: Car repair manuals for everyone.

Smart Access System With Push-Button Start (for Start Function)





THEFT DETERRENT / KEYLESS ENTRY: SMART ACCESS SYSTEM WITH PUSH-BUTTON START (for Start Function): Engine Switch Indicator Circuit
- Engine Switch Indicator Circuit

DESCRIPTION

Engine start conditions or system malfunctions can be checked by the status of the engine switch indicator light.

Engine Switch Indicator Light Condition for AT





Engine Switch Indicator Light Condition for MT





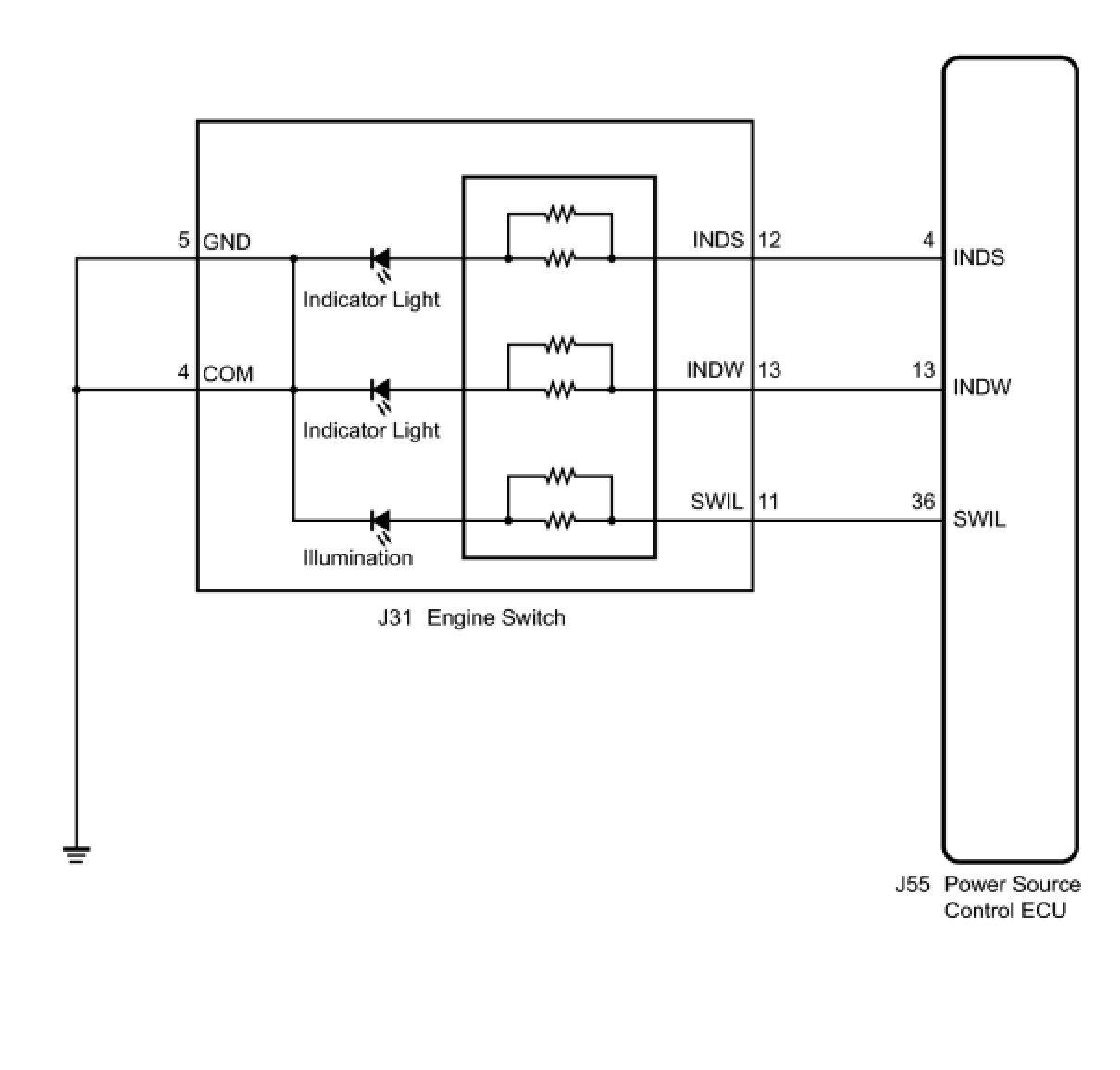
WIRING DIAGRAM





INSPECTION PROCEDURE

PROCEDURE

1. INSPECT ENGINE SWITCH

(a) Remove the engine switch (for 2GR-FSE: Removal, for 4GR-FSE: Removal).





(b) Apply battery voltage between the terminals of the switch, and check the illumination condition of the switch.

NOTICE:
* If the positive (+) lead and the negative (-) lead are incorrectly connected, the engine switch indicator does not illuminate.
* If the voltage is too low, the indicator will not illuminate.

OK:





(c) Proceed to next step based on inspection result.





B -- REPLACE ENGINE SWITCH (for 2GR-FSE) Removal

C -- REPLACE ENGINE SWITCH (for 4GR-FSE) Removal
A -- Continue to next step.

2. CHECK HARNESS AND CONNECTOR (ENGINE SWITCH - POWER SOURCE CONTROL ECU AND BODY GROUND)

(a) Disconnect the J31 switch connector.





(b) Disconnect the J55 ECU connector.

(c) Measure the resistance according to the value(s) in the table below.

Standard Resistance:





Text in Illustration





NG -- REPAIR OR REPLACE HARNESS OR CONNECTOR

OK -- REPLACE POWER SOURCE CONTROL ECU Removal