Curiosii for ever!: Car repair manuals for everyone.

Installation





WINDSHIELD / WINDOWGLASS: WINDSHIELD GLASS: INSTALLATION

1. INSTALL NO. 1 WINDSHIELD GLASS STOPPER

(a) Install 2 new stoppers to the vehicle body, as shown in the illustration.





2. INSTALL NO. 2 WINDSHIELD GLASS STOPPER

(a) Coat the installation part of the stopper with Primer G.

NOTICE:
* Allow the primer coating to dry for 3 minutes or more.
* Do not keep any of the opened Primer G for later use.
* Do not apply too much primer.

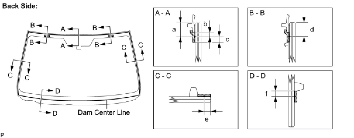
(b) Install 2 new windshield glass stoppers onto the glass, as shown in the illustration.





Standard dimension:





3. INSTALL WINDSHIELD OUTSIDE MOULDING

(a) Using a brush or sponge, coat the edge of the glass and the contact surface with Primer G.

NOTICE:
* Allow the primer coating to dry for 3 minutes or more.
* Do not coat the adhesive with Primer G.
* Do not keep any of the opened Primer G for later use.

(b) Install the windshield outside moulding, as shown in the illustration.





Standard dimension:





4. INSTALL WINDSHIELD GLASS ADHESIVE DAM

(a) Coat the installation part of the dam with Primer G.

NOTICE:
* Allow the primer coating to dry for 3 minutes or more.
* Do not apply too much primer.

(b) Install a new dam, applying double-sided tape all the way around the glass except where the dam is installed, as shown in the illustration.





Standard dimension:





5. INSTALL WINDSHIELD GLASS

(a) Clean and shape the contact surface of the vehicle body.





(1) Using a knife, cut away any rough adhesive on the contact surface of the vehicle body to ensure the appropriate surface shape.

NOTICE:
Be careful not to damage the vehicle body.

HINT
Leave as much adhesive on the vehicle body as possible.

(2) Clean the contact surface of the vehicle body with a piece of shop rag saturated with cleaner.

HINT
Even if all the adhesive has been removed, clean the vehicle body.

(b) Position the glass.





(1) Using a suction cup, place the glass in the correct position.

(2) Check that the whole contact surface of the glass rim is perfectly even.

(3) Place reference marks between the glass and vehicle body.

NOTICE:
Check that the stoppers are attached to the vehicle body correctly.

HINT
When reusing the glass, check and correct the reference mark positions.

(4) Remove the glass.

(c) Using a brush, coat the exposed part of the vehicle body on the vehicle side with Primer M.





NOTICE:
* Allow the primer coating to dry for 3 minutes or more.
* Do not coat the adhesive with Primer M.
* Do not keep any of the opened Primer M for later use.

(d) Using a brush or sponge, coat the edge of the glass and the contact surface with Primer G.





Standard dimension:





NOTICE:
* Allow the primer coating to dry for 3 minutes or more.
* Do not keep any of the opened Primer G for later use.

HINT
If an area other than that specified is coated by accident, wipe off the primer with a clean piece of cloth before it dries.

(e) Apply adhesive (Adhesive: Toyota Genuine Windshield Glass Adhesive or equivalent).

(1) Cut off the tip of the cartridge nozzle, as shown in the illustration.

HINT
After cutting off the tip, use all adhesive within the time described in the table below.

Tack-free time:





(2) Load the sealer gun with the cartridge.

(3) Coat the glass with adhesive, as shown in the illustration.





Standard dimension:





(f) Install the glass.





(1) Using a suction cup, position the glass so that the reference marks are aligned, and press it in gently along the rim.

NOTICE:
* Allow the primer coating to dry for 3 minutes or more.
* Check that the stoppers are attached to the vehicle body correctly.
* Check the clearance between the vehicle body and glass.

(2) Lightly press the front surface of the glass to ensure a close fit.

(3) Using a scraper, remove any excess or protruding adhesive.





NOTICE:
Do not drive the vehicle for the time described in the table below.

Minimum time:





HINT
Apply adhesive onto the glass rim.

(g) Connect each connector.

6. CHECK FOR LEAKS AND REPAIR

(a) Conduct a leak test after the adhesive has completely hardened.

(b) Seal any leaks with a sealer gun.

7. INSTALL ROOF HEADLINING ASSEMBLY (w/o Sliding Roof) Installation

8. INSTALL ROOF HEADLINING ASSEMBLY (w/ Sliding Roof) Installation

9. INSTALL RAIN SENSOR TAPE Installation

10. INSTALL RAIN SENSOR Installation

11. INSTALL VISOR HOLDER Installation

12. INSTALL VISOR ASSEMBLY LH Installation

13. INSTALL VISOR ASSEMBLY RH

14. INSTALL VISOR BRACKET COVER Installation

15. INSTALL ASSIST GRIP SUB-ASSEMBLY Installation

16. INSTALL INNER REAR VIEW MIRROR ASSEMBLY Installation

17. INSTALL MAP LIGHT ASSEMBLY Installation

18. INSTALL INNER REAR VIEW MIRROR STAY HOLDER COVER Installation

19. INSTALL FRONT PILLAR GARNISH LH Installation

20. INSTALL FRONT DOOR OPENING TRIM COVER LH Installation

21. INSTALL FRONT DOOR SCUFF PLATE LH (w/o Illumination) Installation

22. INSTALL FRONT DOOR SCUFF PLATE LH (w/ Illumination) Installation

23. INSTALL FRONT PILLAR GARNISH RH

24. INSTALL FRONT DOOR OPENING TRIM COVER RH Installation

25. INSTALL FRONT DOOR SCUFF PLATE RH (w/o Illumination)

26. INSTALL FRONT DOOR SCUFF PLATE RH (w/ Illumination)

27. INSTALL COWL TOP VENTILATOR LOUVER SUB-ASSEMBLY Installation

28. INSTALL FRONT WIPER ARM AND BLADE ASSEMBLY LH Installation

29. INSTALL FRONT WIPER ARM AND BLADE ASSEMBLY RH Installation

30. INSTALL FRONT WIPER ARM HEAD CAP Installation

31. INSTALL NO. 1 WINDSHIELD OUTSIDE MOULDING CLIP

32. INSTALL ROOF DRIP SIDE FINISH MOULDING LH

33. INSTALL ROOF DRIP SIDE FINISH MOULDING RH

34. INSTALL FRONT UPPER FENDER PROTECTOR LH Installation

35. INSTALL FRONT UPPER FENDER PROTECTOR RH

36. INSTALL ENGINE ROOM SIDE COVER RH Installation

37. INSTALL ENGINE ROOM SIDE COVER LH Installation

38. INSTALL COOL AIR INTAKE DUCT SEAL Installation