Curiosii for ever!: Car repair manuals for everyone.

Audio / Visual





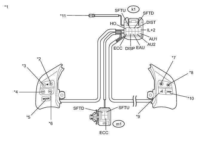
AUDIO / VISUAL: STEERING PAD SWITCH: INSPECTION

1. INSPECT STEERING PAD SWITCH ASSEMBLY

(a) Measure the resistance according to the value(s) in the table below.





Standard Resistance:





HINT
If the result is not as specified, replace the steering pad switch assembly.

Text in Illustration





(b) Check the illumination





(1) Connect a positive (+) lead to terminal IL+2 and a negative (-) lead to terminal EAU of the steering pad switch assembly connector.

(2) Check that the switch illumination comes on.

OK:

Steering pad switch illumination comes on.

HINT
If the result is not as specified, replace the steering pad switch assembly.

Text in Illustration