Curiosii for ever!: Car repair manuals for everyone.

Reassembly





4GR-FSE CHARGING: GENERATOR: REASSEMBLY

1. INSTALL GENERATOR DRIVE END FRAME BEARING

(a) Using SST and a press, press in a new generator drive end frame bearing.





SST : 09950-60010

09951-00470

SST : 09950-70010

09951-07100

(b) Fit the tabs on the retainer plate into the cutouts on the generator drive end frame to install the retainer plate.





(c) Install the 4 screws.

Torque : 2.3 Nm (23 kgf-cm, 20 in-lbf)

2. INSTALL GENERATOR ROTOR ASSEMBLY

(a) Place the generator drive end frame on the clutch pulley.

(b) Install the generator rotor assembly to the generator drive end frame.





3. INSTALL CLUTCH PULLEY

(a) Temporarily install the clutch pulley onto the rotor shaft.

(b) Mount the generator drive end frame in a vise tightly.

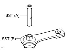
(c) Confirm SST (A) and (B) shown in the illustration.





SST : 09820-63021

(d) Place the rotor shaft end into SST (A).





(e) Fit SST (B) to the clutch pulley.





(f) Tighten the pulley by turning SST (B) in the direction shown in the illustration.





without SST - Torque : 80 Nm (816 kgf-cm, 59 ft-lbf)

with SST - Torque : 64 Nm (653 kgf-cm, 47 ft-lbf)

NOTICE:
* The "with SST" torque value is effective when using a torque wrench with a fulcrum length of 400 mm (1.312 ft.).
* This torque value is effective when SST is parallel to the torque wrench.
* Hold the generator assembly tightly.

(g) Remove SST from the generator assembly.

(h) Check that the clutch pulley rotates smoothly.

(i) Install a new clutch pulley cap to the clutch pulley.

4. INSTALL GENERATOR COIL ASSEMBLY

(a) Place a new generator washer on the generator rotor.





(b) Using SST and a press, press in the generator coil assembly to the generator drive end frame.





SST : 09612-70100

09612-07240

(c) Install the generator coil assembly with the 4 bolts.





Torque : 5.9 Nm (60 kgf-cm, 52 in-lbf)

5. INSTALL GENERATOR BRUSH HOLDER ASSEMBLY

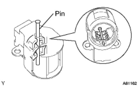
(a) While pushing the 2 brushes into the generator brush holder assembly, insert a 1.0 mm (0.039 in.) diameter pin into the brush holder hole.





(b) Install the generator brush holder assembly to the generator coil with the 2 screws.





Torque : 1.8 Nm (18 kgf-cm, 16 in-lbf)

(c) Pull out the pin from the generator brush holder.

6. INSTALL TERMINAL INSULATOR

(a) Install the terminal insulator to the generator coil.





7. INSTALL GENERATOR REAR END COVER

(a) Install the generator rear end cover to the generator coil with the 3 nuts.





Torque : 4.6 Nm (47 kgf-cm, 41 in-lbf)