Curiosii for ever!: Car repair manuals for everyone.

Open in CAN Main Bus Line





NETWORKING: CAN COMMUNICATION SYSTEM: Open in CAN Main Bus Line
- Open in CAN Main Bus Line

DESCRIPTION

There may be an open circuit in the CAN No. 1 bus main wire and/or the DLC3 branch wire when the resistance between terminals 6 (CANH) and 14 (CANL) of the DLC3 is 70 Ohms or higher.





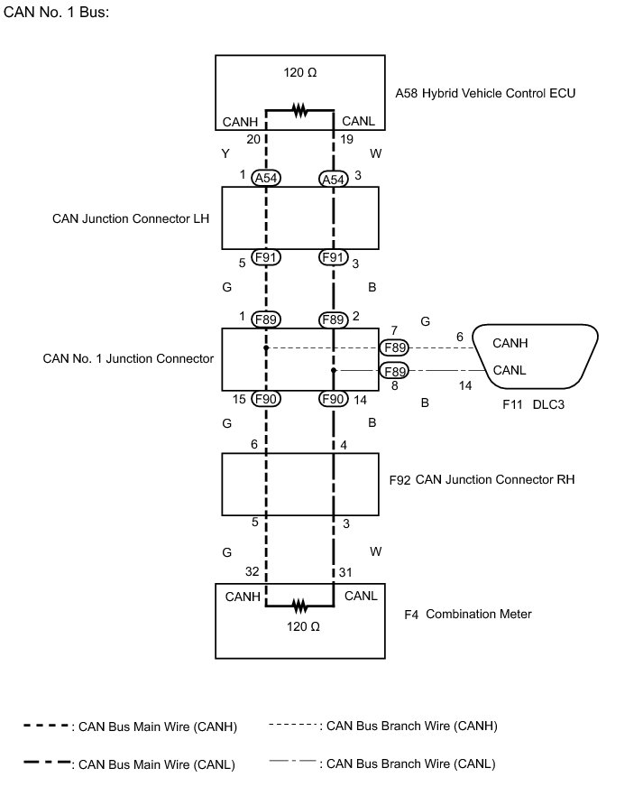
WIRING DIAGRAM





INSPECTION PROCEDURE

NOTICE:
* Turn the power switch off before measuring the resistances between CAN bus main wires and between CAN bus branch wires.
* Turn the power switch off before inspecting CAN bus wires for a ground short.
* After the power switch is turned off, check that the key reminder warning system and light reminder warning system are not operating.
* Before measuring the resistance, leave the vehicle as is for at least 1 minute and do not operate the power switch, any other switches or the doors. If any doors need to be opened in order to check connectors, open the doors and leave them open.

HINT
* Operating the power switch, any other switches or a door triggers related ECU and sensor communication on the CAN. This communication will cause the resistance value to change.
* Even after DTCs are cleared, if a DTC is stored again after driving the vehicle for a while, the malfunction may be occurring due to vibration of the vehicle. In such a case, wiggling the ECUs or wire harness while performing the inspection below may help determine the cause of the malfunction.

PROCEDURE

1. CHECK FOR OPEN IN CAN BUS WIRE (DLC3 BRANCH WIRE)

(a) Turn the power switch off.

(b) Measure the resistance according to the value(s) in the table below.





Standard Resistance:





Text in Illustration





NOTICE:
When the measured value is 133 Ohms or higher and a CAN communication system DTC is output, there may be a fault besides disconnection of the DLC3 branch wire. For that reason, troubleshooting should be performed again from How to Proceed with Troubleshooting after repairing the trouble area How to Proceed With Troubleshooting.

NG -- REPAIR OR REPLACE CAN BRANCH WIRE CONNECTED TO DLC3
OK -- Continue to next step.

2. CHECK FOR OPEN IN CAN BUS WIRE (HYBRID VEHICLE CONTROL ECU)

(a) Disconnect the hybrid vehicle control ECU connector.





Text in Illustration





(b) Measure the resistance according to the value(s) in the table below.

Standard Resistance:





NG -- CHECK FOR OPEN IN CAN BUS WIRE (COMBINATION METER)

OK -- REPLACE HYBRID VEHICLE CONTROL ECU Removal

3. CHECK FOR OPEN IN CAN BUS WIRE (COMBINATION METER)

(a) Reconnect the hybrid vehicle control ECU connector.

(b) Disconnect the combination meter connector.





Text in Illustration





(c) Measure the resistance according to the value(s) in the table below.

Standard Resistance:





NG -- CHECK FOR OPEN IN CAN BUS WIRE (CAN NO. 1 J/C - CAN J/C LH)

OK -- REPLACE COMBINATION METER Removal

4. CHECK FOR OPEN IN CAN BUS WIRE (CAN NO. 1 J/C - CAN J/C LH)

(a) Reconnect the combination meter connector.

(b) Disconnect the wire harness connector from the CAN No. 1 junction connector upper side.





Text in Illustration





(c) Measure the resistance according to the value(s) in the table below.

Standard Resistance:





NG -- CHECK FOR OPEN IN CAN BUS WIRE (CAN J/C LH - CAN NO. 1 J/C)
OK -- Continue to next step.

5. CHECK FOR OPEN IN CAN BUS WIRE (CAN NO. 1 J/C - CAN J/C RH)

(a) Reconnect the wire harness connector to the CAN No. 1 junction connector upper side.

(b) Disconnect the wire harness connector from the CAN No. 1 junction connector lower side.





Text in Illustration





(c) Measure the resistance according to the value(s) in the table below.

Standard Resistance:





NG -- CHECK FOR OPEN IN CAN BUS WIRE

OK -- REPLACE CAN NO. 1 JUNCTION CONNECTOR

6. CHECK FOR OPEN IN CAN BUS WIRE (CAN J/C LH - CAN NO. 1 J/C)

(a) Reconnect the wire harness connector to the CAN No. 1 junction connector upper side.

(b) Disconnect the instrument panel wire from the CAN junction connector LH.





Text in Illustration





(c) Measure the resistance according to the value(s) in the table below.

Standard Resistance:





NG -- REPAIR OR REPLACE CAN BUS MAIN WIRE OR CONNECTOR (CAN NO. 1 J/C - CAN J/C LH)
OK -- Continue to next step.

7. CHECK FOR OPEN IN CAN BUS WIRE (CAN J/C LH - HYBRID VEHICLE CONTROL ECU)

(a) Reconnect the instrument panel wire to the CAN junction connector LH.

(b) Disconnect the engine room main wire from the CAN junction connector LH.





Text in Illustration





(c) Measure the resistance according to the value(s) in the table below.

Standard Resistance:





NG -- REPAIR OR REPLACE CAN BUS MAIN WIRE OR CONNECTOR (CAN J/C LH - HYBRID VEHICLE CONTROL ECU)

OK -- REPLACE CAN JUNCTION CONNECTOR LH

8. CHECK FOR OPEN IN CAN BUS WIRE

(a) Reconnect the wire harness connector to the CAN No. 1 junction connector lower side.

(b) Disconnect the instrument panel wire from the CAN junction connector RH.





Text in Illustration





(c) Measure the resistance according to the value(s) in the table below.

Standard Resistance:





Result:





B -- REPAIR OR REPLACE CAN BUS MAIN WIRE OR CONNECTOR (CAN NO. 1 J/C - CAN J/C RH)

C -- REPAIR OR REPLACE CAN BUS MAIN WIRE OR CONNECTOR (CAN J/C RH - COMBINATION METER)

A -- REPLACE CAN JUNCTION CONNECTOR RH