Curiosii for ever!: Car repair manuals for everyone.

Rear Wheel Alignment





ALIGNMENT / HANDLING DIAGNOSIS: REAR WHEEL ALIGNMENT: ADJUSTMENT

NOTICE:
If the wheel alignment has been adjusted, and if suspension or underbody components have been removed/installed or replaced, be sure to perform the following initialization procedure in order for the system to function normally:

* Perform zero point calibration of the yaw rate and acceleration sensor.

1. INSPECT TIRES Component Tests and General Diagnostics

2. MEASURE VEHICLE HEIGHT Front Wheel Alignment

3. INSPECT CAMBER

NOTICE:
Inspect while the vehicle is unloaded.

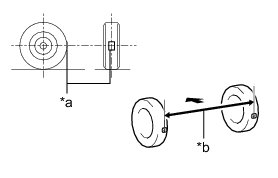
(a) Install a camber-caster-kingpin gauge.





Text in Illustration





(b) Inspect the camber.

Camber (Unloaded Vehicle):





HINT
Camber is not adjustable. If the measurement is not within the specified range, inspect the suspension parts for damage and/or wear, and replace them if necessary.

4. INSPECT TOE-IN

NOTICE:
Inspect while the vehicle is unloaded.

(a) Bounce the vehicle up and down at the corners to stabilize the suspension.

(b) Release the parking brake and move the shift lever to N.

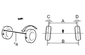
(c) Push the vehicle straight ahead approximately 5 m (16.4 ft.). (Step A)

(d) Put tread center marks on the rearmost points of the rear wheels and measure the distance between the marks (dimension B).





Text in Illustration





(e) Slowly push the vehicle straight ahead to cause the rear wheels to rotate 180° using the rear tire valve as a reference point.

HINT
Do not allow the wheels to rotate more than 180°. If the wheels rotate more than 180°, perform the procedure from Step A again.

(f) Measure the distance between the tread center marks on the front side of the rear wheels (dimension A).





Text in Illustration





Toe-in (Unloaded Vehicle):





HINT
Measure "B - A" only when "C + D" cannot be measured.

If the toe-in is not within the specified range, adjust it at the rear No. 1 suspension arms.

5. ADJUST TOE-IN

(a) Loosen the nut of the rear No. 1 suspension arm assembly (at the rear suspension member side).





NOTICE:
Hold the rear suspension toe adjust cam sub-assembly while rotating the nut.

(b) Rotate the rear suspension toe adjust cam sub-assembly to adjust the toe-in.





Toe-in (Unloaded Vehicle):





HINT
Rotating the rear suspension toe adjust cam sub-assembly by one notch changes the toe by approximately 3.5 mm (0.138 in.).

(c) Tighten the nut of the rear No. 1 suspension arm assembly (at the rear suspension member side).





Torque : 100 Nm (1020 kgf-cm, 74 ft-lbf)

NOTICE:
* Hold the rear suspension toe adjust cam sub-assembly while rotating the nut.
* Make sure that all tires of the vehicle are on the ground and the vehicle is unloaded.

6. PLACE FRONT WHEELS FACING STRAIGHT AHEAD

7. PERFORM YAW RATE AND ACCELERATION SENSOR CALIBRATION

Calibration