Curiosii for ever!: Car repair manuals for everyone.

Front Wheel Alignment





ALIGNMENT / HANDLING DIAGNOSIS: FRONT WHEEL ALIGNMENT: ADJUSTMENT

NOTICE:
If the wheel alignment has been adjusted, and if suspension or underbody components have been removed/installed or replaced, be sure to perform the following initialization procedure in order for the system to function normally:

* Perform zero point calibration of the yaw rate and acceleration sensor.

1. INSPECT TIRES Component Tests and General Diagnostics

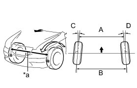
2. MEASURE VEHICLE HEIGHT





NOTICE:
* Before inspecting the wheel alignment, adjust the vehicle height to the specified value.
* Be sure to perform measurement on a level surface.
* If it is necessary to go under the vehicle for measurement, confirm that the parking brake is applied and the vehicle is secured with chocks.
* Inspect while the vehicle is unloaded.
* The standard value shown here is a value that is used for adjusting the wheel alignment and does not indicate the height of an actual vehicle.

(a) Bounce the vehicle up and down at the corners to stabilize the suspension.

(b) Measure the vehicle height.

Measurement points:

* A: Ground clearance of front No. 1 lower suspension arm bushing set bolt center

* B: Ground clearance of rear No. 2 suspension arm set bolt center

* C: Ground clearance of front wheel center

* D: Ground clearance of rear wheel center

Vehicle Height (Unloaded Vehicle):





3. INSPECT CAMBER, CASTER AND STEERING AXIS INCLINATION

NOTICE:
Inspect while the vehicle is unloaded.

(a) Install a camber-caster-kingpin gauge and place the front wheels on the center of a turning radius gauge.





Text in Illustration





(b) Inspect the camber, caster and steering axis inclination.

Camber (Unloaded Vehicle):





Caster (Unloaded Vehicle):





Steering Axis (Unloaded Vehicle):





4. ADJUST CAMBER

NOTICE:
Inspect toe-in after the camber has been adjusted.

(a) Remove the front wheel.

(b) Loosen the 2 nuts.





NOTICE:
Keep the bolts inserted.

(c) Clean the installation surfaces of the front shock absorber and the steering knuckle.

(d) Temporarily install the 2 nuts. (Step A)

(e) Fully push or pull the front axle hub in the direction of the required adjustment. (Step B)





(f) Tighten the nuts.





Torque : 240 Nm (2447 kgf-cm, 177 ft-lbf)

NOTICE:
Keep the bolts from rotating when tightening the nuts.

(g) Install the front wheel.

Torque : 103 Nm (1050 kgf-cm, 76 ft-lbf)

(h) Check the camber.





If the measured value is not within the specification, calculate the required adjustment amount using the formula below.

Camber adjustment amount = center of the specified range - measured value

Check the combination of the installed bolts. Select appropriate bolts from the tables below to adjust the camber to the specified values.

HINT
Try to adjust the camber to the center of the specified values.





The body and suspension may be damaged if the camber is not correctly adjusted according to the above table.

(1) Table (1) (Move the axle hub toward the positive side)





Text in Illustration





(2) Table (2) (Move the axle hub toward the negative side)





Text in Illustration





(i) Repeat the steps mentioned above. In Step A, replace 1 or 2 selected bolts.

HINT
Replace one bolt at a time when replacing both bolts.

5. INSPECT TOE-IN

NOTICE:
Inspect while the vehicle is unloaded.

(a) Bounce the vehicle up and down at the corners to stabilize the suspension.

(b) Release the parking brake and move the shift lever to N.

(c) Push the vehicle straight ahead approximately 5 m (16.4 ft.). (Step C)

(d) Put tread center marks on the rearmost points of the front wheels and measure the distance between the marks (dimension B).





Text in Illustration





(e) Slowly push the vehicle straight ahead to cause the front wheels to rotate 180° using the front tire valve as a reference point.

HINT
Do not allow the wheels to rotate more than 180°. If the wheels rotate more than 180°, perform the procedure from Step C again.

(f) Measure the distance between the tread center marks on the front side of the wheels (dimension A).





Text in Illustration





Toe-in (Unloaded Vehicle):





HINT
Measure "B - A" only when "C + D" cannot be measured.

If the toe-in is not within the specified range, adjust it at the rack ends.

6. ADJUST TOE-IN

(a) Make sure that the thread length of the right and left rack ends are approximately the same.





Text in Illustration





Standard difference:

1.5 mm (0.0591 in.) or less

(b) Remove the boot clips.

(c) Loosen the tie rod end lock nuts.





(d) Adjust the rack ends if the difference in thread length between the right and left rack ends is not within the specified range.

(1) Extend the shorter rack end if the measured toe-in deviates toward the outer-side.

(2) Shorten the longer rack end if the measured toe-in deviates toward the inner-side.

(e) Turn the right and left rack ends by an equal amount to adjust the toe-in to the center value.

(f) Make sure that the thread lengths of the right and left rack ends are the same.

(g) Tighten the tie rod end lock nuts.

Torque : 88 Nm (897 kgf-cm, 65 ft-lbf)

(h) Place the boots on the seats and install the clips.

HINT
Make sure that the boots are not twisted.

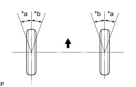
7. INSPECT WHEEL ANGLE

(a) Put tread center marks on the rearmost points of a turning radius gauge.





Text in Illustration





(b) Turn the steering wheel to the left and right full lock positions, and measure the turning angle.

NOTICE:
Inspect while the vehicle is unloaded.

Wheel Angle (Unloaded Vehicle):





* If the angles are not as specified, check and adjust the right and left rack end lengths.

8. PLACE FRONT WHEELS FACING STRAIGHT AHEAD

9. PERFORM YAW RATE AND ACCELERATION SENSOR CALIBRATION

Calibration