Curiosii for ever!: Car repair manuals for everyone.

Reverse Shift-Linked Function Of Power Mirrors Does Not Operate





MIRROR (EXT): POWER MIRROR CONTROL SYSTEM (w/ Memory): Reverse Shift-linked Function of Power Mirrors does not Operate
- Reverse Shift-linked Function of Power Mirrors does not Operate

SYSTEM DESCRIPTION

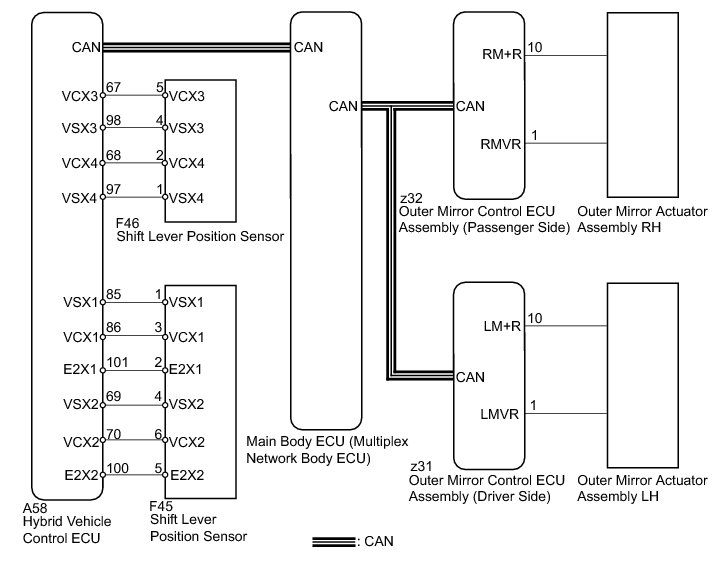
On receiving a reverse signal from the shift lever position sensor, the hybrid vehicle control ECU sends the reverse signal to the main body ECU (multiplex network body ECU) via CAN communication. When receiving the reverse signal, the main body ECU (multiplex network body ECU) sends the reverse request signal to each outer mirror control ECU assembly. Each outer mirror control ECU assembly then performs control in response to the reverse signal.

HINT
The reverse shift-linked function will not activate when the mirror select switch is in the neutral position (off).

WIRING DIAGRAM





INSPECTION PROCEDURE

HINT
The reverse shift-linked function will not activate when the mirror select switch is in the neutral position (off).

PROCEDURE

1. CHECK MEMORY AND REACTIVATION FUNCTION

(a) Turn the power switch on (IG).





(b) Using the outer mirror switch assembly, turn the mirror surface to the fully left position.

Text in Illustration





(c) Press the M1 switch while the SET switch is being pressed.

(d) Check that the buzzer sounds for 0.5 seconds and the mirror surface position is memorized.

(e) Using the outer mirror switch assembly, turn the mirror surface to the fully right position.

(f) Press the M1 switch.

(g) Check that the buzzer sounds for 0.1 seconds and the outer mirror automatically moves to the recorded fully left position.

Result:





B -- GO TO OTHER FLOW CHART (Power Mirror Surface Position is not Memorized) Power Mirror Surface Position Is Not Memorized

C -- GO TO OTHER FLOW CHART (Power Mirrors do not Return to Memorized Position) Power Mirrors Do Not Return To Memorized Position
A -- Continue to next step.

2. CHECK CAN COMMUNICATION SYSTEM

(a) Use the Techstream to check if the CAN communication system is functioning normally How to Proceed With Troubleshooting.

OK:

CAN communication DTC is not output.

NG -- GO TO CAN COMMUNICATION SYSTEM Diagnosis System
OK -- Continue to next step.

3. CHECK FOR DTC

(a) Connect the Techstream to the DLC3.

(b) Turn the power switch on (IG).

(c) Turn the Techstream on.

(d) Enter the following menus: Powertrain / Hybrid Control / DTC.

(e) Check if hybrid control system DTCs are output.

OK:

Hybrid control system DTCs are not output.

NG -- GO TO HYBRID CONTROL SYSTEM (DIAGNOSTIC TROUBLE CODE CHART) Hybrid Control System
OK -- Continue to next step.

4. CHECK COMBINATION METER ASSEMBLY

(a) Check if the shift position indicator light in the combination meter assembly operates normally.

OK:

The shift position indicator light indicates the actual shift position correctly.

NG -- GO TO METER / GAUGE SYSTEM (PROBLEM SYMPTOMS TABLE) Problem Symptoms Table
OK -- Continue to next step.

5. READ VALUE USING TECHSTREAM

(a) Connect the Techstream to the DLC3.

(b) Turn the power switch on (IG).

(c) Turn the Techstream on.

(d) Enter the following menus: Body Electrical / Main Body / Data List.

(e) Read the Data List according to the display on the Techstream.

Main Body





ON:

ON or OFF appears on the screen.

NG -- REPLACE MAIN BODY ECU (MULTIPLEX NETWORK BODY ECU) Removal
OK -- Continue to next step.

6. CHECK REVERSE SHIFT-LINKED FUNCTION

(a) Turn the power switch on (IG).





(b) Set the mirror select switch to L or R.

(c) Check that the mirror surface turns downward when the shift lever is moved to R.

Result:





B -- REPLACE OUTER MIRROR ACTUATOR ASSEMBLY RH

C -- REPLACE OUTER MIRROR ACTUATOR ASSEMBLY LH

A -- REPLACE MAIN BODY ECU (MULTIPLEX NETWORK BODY ECU) Removal

7. REPLACE OUTER MIRROR ACTUATOR ASSEMBLY RH

(a) Replace the outer mirror actuator assembly RH Removal.

NEXT -- Continue to next step.

8. CHECK REVERSE SHIFT-LINKED FUNCTION

(a) Turn the power switch on (IG).





(b) Set the mirror select switch to L or R.

(c) Check that the mirror surface turns downward when the shift lever is moved to R.

OK:

Reverse shift-linked function is normal.

NG -- REPLACE OUTER MIRROR CONTROL ECU ASSEMBLY (FRONT PASSENGER SIDE) Removal

OK -- END (OUTER MIRROR ACTUATOR ASSEMBLY RH WAS DEFECTIVE)

9. REPLACE OUTER MIRROR ACTUATOR ASSEMBLY LH

(a) Replace the outer mirror actuator assembly LH Removal.

NEXT -- Continue to next step.

10. CHECK REVERSE SHIFT LINKED FUNCTION

(a) Turn the power switch on (IG).





(b) Set the mirror select switch to L or R.

(c) Check that the mirror surface turns downward when the shift lever is moved to R.

OK:

Reverse shift-linked function is normal.

NG -- REPLACE OUTER MIRROR CONTROL ECU ASSEMBLY (DRIVER SIDE) Removal

OK -- END (OUTER MIRROR ACTUATOR ASSEMBLY LH WAS DEFECTIVE)