Curiosii for ever!: Car repair manuals for everyone.

Navigation ECU Power Source Circuit





NAVIGATION / MULTI INFO DISPLAY: NAVIGATION SYSTEM: Navigation ECU Power Source Circuit
- Navigation ECU Power Source Circuit

DESCRIPTION

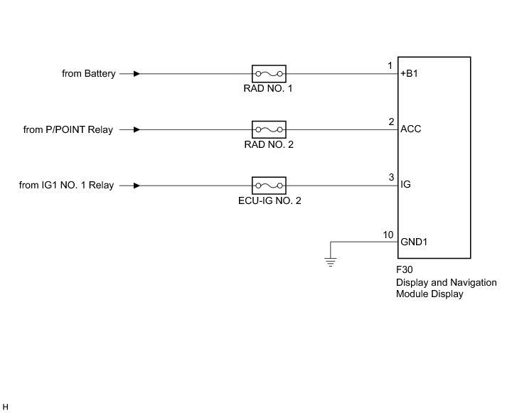
This is the power source circuit to operate the display and navigation module display.

WIRING DIAGRAM





INSPECTION PROCEDURE

NOTICE:
Inspect the fuses for circuits related to this system before performing the following inspection procedure.

PROCEDURE

1. CHECK HARNESS AND CONNECTOR (DISPLAY AND NAVIGATION MODULE DISPLAY POWER SOURCE)

(a) Disconnect the F30 display and navigation module display connector.

(b) Measure the resistance according to the value(s) in the table below.

Standard Resistance:





(c) Measure the voltage according to the value(s) in the table below.

Standard Voltage:





NG -- REPAIR OR REPLACE HARNESS OR CONNECTOR

OK -- PROCEED TO NEXT SUSPECTED AREA SHOWN IN PROBLEM SYMPTOMS TABLE Problem Symptoms Table