Curiosii for ever!
: Car repair manuals for everyone.
Home
>>
Lexus
>>
2012
>>
ES 350 V6-3.5L (2GR-FE)
>>
Repair and Diagnosis
>>
Accessories and Optional Equipment
>>
Emergency Contact Module
>>
Description and Operation
>>
LEXUS ENFORM System
>>
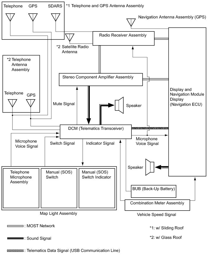
System Diagram
System Diagram
CELLULAR COMMUNICATION: LEXUS ENFORM SYSTEM: SYSTEM DIAGRAM