Curiosii for ever!: Car repair manuals for everyone.

Audio And Visual System (W/O Navigation System with Multi-display)





AUDIO / VISUAL: AUDIO AND VISUAL SYSTEM (w/o Navigation System with Multi-display): B15D0: MOST Communication Malfunction
B15D0 - MOST Communication Malfunction

DESCRIPTION

This DTC is stored when the MOST network cannot be established after the master unit is activated.

HINT
* If a short occurs in a speaker circuit, the sound from the corresponding speaker will be low or almost impossible to hear. If the volume is turned up in this situation, to prevent excessive current flow due to the short circuit, the stereo component amplifier assembly stops operating when its output exceeds a certain level. When the operation of the stereo component amplifier assembly stops, the audio and visual system will not function normally. This is because MOST communication will stop due to the shut down of the amplifier causing an error in the MOST network. The stereo component amplifier assembly will start operating again when the engine switch is turned off and back on (ACC) again. However, the amplifier will stop operating again if its output exceeds a certain level. (w/ Rear Header Speaker)
* When the stereo component amplifier assembly stops operating and a malfunction occurs in the audio and visual system due to a short in a speaker circuit, this DTC will be stored. (w/ Rear Header Speaker)





HINT
* MOST network communication cannot be established.
* Errors may occur in MOST communication between devices due to problems such as electrical noise.

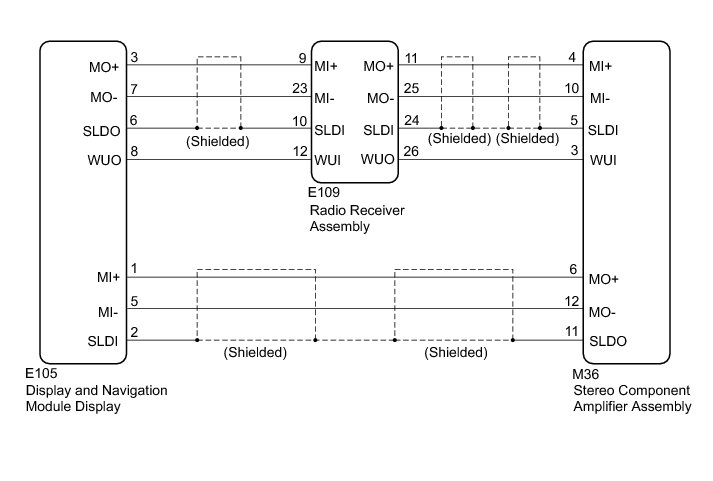
WIRING DIAGRAM





INSPECTION PROCEDURE

PROCEDURE

1. CONFIRM MODEL

(a) Choose the model to be inspected.

Result:





B -- CHECK MOST LINE CHECK
A -- Continue to next step.

2. CONFIRM SYMPTOMS

(a) Engine switch off.

(b) Turn the engine switch on (ACC) and check if the audio system activates and if the speakers operate.

HINT
* Choose a source such as radio so that sound can be output from the speakers.
* If sound from the speakers is low, turn up the volume.

Result:





HINT
* If a short occurs in a speaker circuit, the sound from the corresponding speaker will be low or almost impossible to hear. If the volume is turned up in this situation, to prevent excessive current flow due to the short circuit, the stereo component amplifier assembly stops operating when its output exceeds a certain level. When the operation of the stereo component amplifier assembly stops, the audio and visual system will not function normally. This is because MOST communication will stop due to the shut down of the amplifier causing an error in the MOST network. The stereo component amplifier assembly will start operating again when the engine switch is turned off and back on (ACC) again. However, the amplifier will stop operating again if its output exceeds a certain level.
* When the stereo component amplifier assembly stops operating and a malfunction occurs in the audio and visual system due to a short in a speaker circuit, this DTC will be stored. In this case, check each speaker circuit and repair or replace malfunctioning parts, and then recheck for DTCs.

B -- CHECK MOST LINE CHECK

A -- GO TO "SPEAKER CIRCUIT" Speaker Circuit

3. CHECK MOST LINE CHECK

(a) Display the "MOST Line Check" screen Audio And Visual System (W/O Navigation System with Multi-display).





(1) Check the result on the "MOST Line Check" screen.

Result:





HINT
* When "NCON" is displayed for more than 1 item, proceed to the step for the device that has the smallest node position number.
* The "MOST Line Check" screen can be displayed only when DTC B15D0 is stored.

Text in Illustration





B -- CHECK MOST COMMUNICATION CONNECTOR

C -- CHECK HARNESS AND CONNECTOR (MOST COMMUNICATION OUTLINE)
A -- Continue to next step.

4. CHECK MOST COMMUNICATION CONNECTOR

(a) Check the MOST communication line connector.

(1) Check the MOST communication line connectors of the radio receiver assembly and stereo component amplifier assembly Electronic Circuit Inspection Procedure.

(b) Display the "MOST Line Check" screen and check the result Audio And Visual System (W/O Navigation System with Multi-display).

Result:





HINT
When the malfunction in the MOST network is repaired, the screen cannot be changed to the "MOST Line Check" screen.

B -- END
A -- Continue to next step.

5. CHECK HARNESS AND CONNECTOR (WAKE UP SIGNAL)

(a) Disconnect the stereo component amplifier assembly connector.

(b) Measure the voltage according to the value(s) in the table below.

Standard Voltage:





NG -- CHECK HARNESS AND CONNECTOR (STEREO COMPONENT AMPLIFIER ASSEMBLY - RADIO RECEIVER ASSEMBLY)

OK -- REPLACE STEREO COMPONENT AMPLIFIER ASSEMBLY Removal

6. CHECK HARNESS AND CONNECTOR (STEREO COMPONENT AMPLIFIER ASSEMBLY - RADIO RECEIVER ASSEMBLY)

(a) Disconnect the stereo component amplifier assembly connector.

(b) Disconnect the radio receiver assembly connector.

(c) Measure the resistance according to the value(s) in the table below.

Standard Resistance:





NG -- REPAIR OR REPLACE HARNESS OR CONNECTOR

OK -- REPLACE RADIO RECEIVER ASSEMBLY Removal

7. CHECK MOST COMMUNICATION CONNECTOR

(a) Check the MOST communication line connector.

(1) Check the MOST communication line connectors of the radio receiver assembly and display and navigation module display Electronic Circuit Inspection Procedure.

(b) Display the "MOST Line Check" screen and check the result Audio And Visual System (W/O Navigation System with Multi-display).

Result:





HINT
When the malfunction in the MOST network is repaired, the screen cannot be changed to the "MOST Line Check" screen.

B -- END
A -- Continue to next step.

8. CHECK HARNESS AND CONNECTOR (WAKE UP SIGNAL)

(a) Disconnect the radio receiver assembly connector.

(b) Measure the voltage according to the value(s) in the table below.

Standard Voltage:





NG -- CHECK HARNESS AND CONNECTOR (RADIO RECEIVER ASSEMBLY - DISPLAY AND NAVIGATION MODULE DISPLAY)

OK -- REPLACE RADIO RECEIVER ASSEMBLY Removal

9. CHECK HARNESS AND CONNECTOR (RADIO RECEIVER ASSEMBLY - DISPLAY AND NAVIGATION MODULE DISPLAY)

(a) Disconnect the radio receiver assembly connector.

(b) Disconnect the display and navigation module display connector.

(c) Measure the resistance according to the value(s) in the table below.

Standard Resistance:





NG -- REPAIR OR REPLACE HARNESS OR CONNECTOR

OK -- REPLACE DISPLAY AND NAVIGATION MODULE DISPLAY Removal

10. CHECK HARNESS AND CONNECTOR (MOST COMMUNICATION OUTLINE)

(a) Disconnect the display and navigation module display connector.

(b) Disconnect the radio receiver assembly connector.

(c) Disconnect the stereo component amplifier assembly connector.

(d) Measure the resistance between the display and navigation module display and the stereo component amplifier assembly according to the value(s) in the table below.

Standard Resistance:





(e) Measure the resistance between the display and navigation module display and the radio receiver assembly according to the value(s) in the table below.

Standard Resistance:





(f) Measure the resistance between the radio receiver assembly and stereo component amplifier assembly according to the value(s) in the table below.

Standard Resistance:





NG -- REPAIR OR REPLACE HARNESS OR CONNECTOR
OK -- Continue to next step.

11. CHECK DTC

(a) Clear the DTCs Audio And Visual System (W/O Navigation System with Multi-display).

(b) Recheck for DTCs and check if the same DTC is output again.

OK:

No DTCs are output.

NG -- REPLACE DISPLAY AND NAVIGATION MODULE DISPLAY Removal

OK -- USE SIMULATION METHOD TO CHECK How To Proceed With Troubleshooting