Curiosii for ever!: Car repair manuals for everyone.

Audio And Visual System (W/O Navigation System with Multi-display)





AUDIO / VISUAL: AUDIO AND VISUAL SYSTEM (w/o Navigation System with Multi-display): B15C3: Speaker Output Short
B15C3 - Speaker Output Short

DESCRIPTION

This DTC is stored when a malfunction occurs in the speakers.





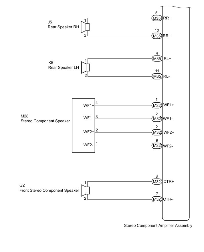
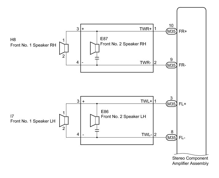
WIRING DIAGRAM









INSPECTION PROCEDURE

PROCEDURE

1. INSPECT STEREO COMPONENT AMPLIFIER ASSEMBLY

(a) Disconnect stereo component amplifier assembly connectors M35 and M32.

(b) Clear the DTCs and recheck for DTCs.

(c) Check if DTC B15C3 is output.

OK:

DTC B15C3 is not output.

NG -- REPLACE STEREO COMPONENT AMPLIFIER ASSEMBLY Removal
OK -- Continue to next step.

2. CHECK OPERATION

(a) Reconnect stereo component amplifier assembly connector M32.

(b) Check if DTC B15C3 is output.

OK:

DTC B15C3 is not output.

NG -- CHECK HARNESS AND CONNECTOR
OK -- Continue to next step.

3. CHECK HARNESS AND CONNECTOR

(a) Disconnect stereo component amplifier assembly connector M35, and speaker connectors H8, E87, I7, E86, J5 and K5.

(b) Measure the resistance between the stereo component amplifier assembly and body ground to check for a short circuit in the wire harness.

Standard Resistance:





(c) Measure the resistance between each of the front No. 1 speakers and body ground to check for a short circuit in the wire harness.

Standard Resistance:





(d) Measure the resistance between each of the front No. 2 speakers and the stereo component amplifier assembly to check for an open circuit in the wire harness.

Standard Resistance:





(e) Measure the resistance between each of the rear speakers and the stereo component amplifier assembly to check for an open circuit in the wire harness.

Standard Resistance:





NG -- REPAIR OR REPLACE HARNESS OR CONNECTOR
OK -- Continue to next step.

4. INSPECT FRONT NO. 1 SPEAKER

(a) Resistance check





(1) Measure the resistance according to the value(s) in the table below.

Standard Resistance:





Text in Illustration





NG -- REPLACE FRONT NO. 1 SPEAKER Removal
OK -- Continue to next step.

5. INSPECT FRONT NO. 2 SPEAKER

(a) Resistance check





(1) Measure the resistance according to the value(s) in the table below.

Standard Resistance:





Text in Illustration





NG -- REPLACE FRONT NO. 2 SPEAKER Removal
OK -- Continue to next step.

6. INSPECT REAR SPEAKER

(a) Resistance check





(1) Measure the resistance according to the value(s) in the table below.

Standard Resistance:





Text in Illustration





(b) Proceed to the next step based on the inspection result.

Result:





NG -- REPLACE REAR SPEAKER Removal

OK -- REPLACE STEREO COMPONENT AMPLIFIER ASSEMBLY Removal

7. CHECK HARNESS AND CONNECTOR

(a) Disconnect stereo component amplifier assembly connector M32 and speaker connectors M28 and G2.

(b) Measure the resistance between the stereo component amplifier assembly and body ground to check for a short circuit in the wire harness.

Standard Resistance:





(c) Measure the resistance between the front stereo component speaker and the stereo component amplifier assembly to check for an open circuit in the wire harness.

Standard Resistance:





(d) Measure the resistance between the stereo component speaker and the stereo component amplifier assembly to check for an open circuit in the wire harness.

Standard Resistance:





NG -- REPAIR OR REPLACE HARNESS OR CONNECTOR
OK -- Continue to next step.

8. INSPECT FRONT STEREO COMPONENT SPEAKER

(a) Resistance check





(1) Measure the resistance according to the value(s) in the table below.

Standard Resistance:





Text in Illustration





NG -- REPLACE FRONT STEREO COMPONENT SPEAKER Removal
OK -- Continue to next step.

9. INSPECT STEREO COMPONENT SPEAKER

(a) Resistance check





(1) Measure the resistance according to the value(s) in the table below.

Standard Resistance:





Text in Illustration





NG -- REPLACE STEREO COMPONENT SPEAKER Removal

OK -- REPLACE STEREO COMPONENT AMPLIFIER ASSEMBLY Removal