Curiosii for ever!: Car repair manuals for everyone.

Power Management Control ECU Communication Stop Mode





NETWORKING: CAN COMMUNICATION SYSTEM: Power Management Control ECU Communication Stop Mode
- Power Management Control ECU Communication Stop Mode

DESCRIPTION





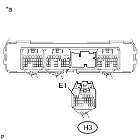
WIRING DIAGRAM





INSPECTION PROCEDURE

NOTICE:
* Turn the power switch off before measuring the resistances between CAN main bus lines and between CAN branch lines.
* Turn the power switch off before inspecting CAN bus lines for a ground short.
* After the power switch is turned off, check that the key reminder warning system and light reminder warning system are not operating.
* Before measuring the resistance, leave the vehicle as is for at least 1 minute and do not operate the power switch, any other switches or the doors. If any doors need to be opened in order to check connectors, open the doors and leave them open.

HINT
* Operating the power switch, any other switches or a door triggers related ECU and sensor communication on the CAN. This communication will cause the resistance value to change.
* Even after DTCs are cleared, if a DTC is stored again after driving the vehicle for a while, the malfunction may be occurring due to vibration of the vehicle. In such a case, wiggling the ECUs or wire harness while performing the inspection below may help determine the cause of the malfunction.

PROCEDURE

1. CHECK CAN BUS LINE FOR DISCONNECTION (POWER MANAGEMENT CONTROL ECU BRANCH LINE)

(a) Turn the power switch off.

(b) Disconnect the H4 power management control ECU connector.





(c) Measure the resistance according to the value(s) in the table below.

Standard Resistance:





Text in Illustration





NG -- REPAIR OR REPLACE CAN BRANCH LINE OR CONNECTOR (POWER MANAGEMENT CONTROL ECU)
OK -- Continue to next step.

2. CHECK HARNESS AND CONNECTOR (POWER SOURCE TERMINAL)

(a) Reconnect the H4 power management control ECU connector.

(b) Measure the voltage according to the value(s) in the table below.





Standard Voltage:





Text in Illustration





NG -- REPAIR OR REPLACE HARNESS OR CONNECTOR (POWER SOURCE TERMINAL)
OK -- Continue to next step.

3. CHECK HARNESS AND CONNECTOR (GROUND TERMINAL)

(a) Disconnect the H3 power management control ECU connector.

(b) Measure the resistance according to the value(s) in the table below.





Standard Resistance:





Text in Illustration





NG -- REPAIR OR REPLACE HARNESS OR CONNECTOR (GROUND TERMINAL)

OK -- REPLACE POWER MANAGEMENT CONTROL ECU Removal