Curiosii for ever!
: Car repair manuals for everyone.
Home
>>
Lexus
>>
2012
>>
CT 200h L4-1.8L (2ZR-FXE) Hybrid
>>
Repair and Diagnosis
>>
Powertrain Management
>>
Computers and Control Systems
>>
Information Bus
>>
Description and Operation
>>
CAN Communication System
>>
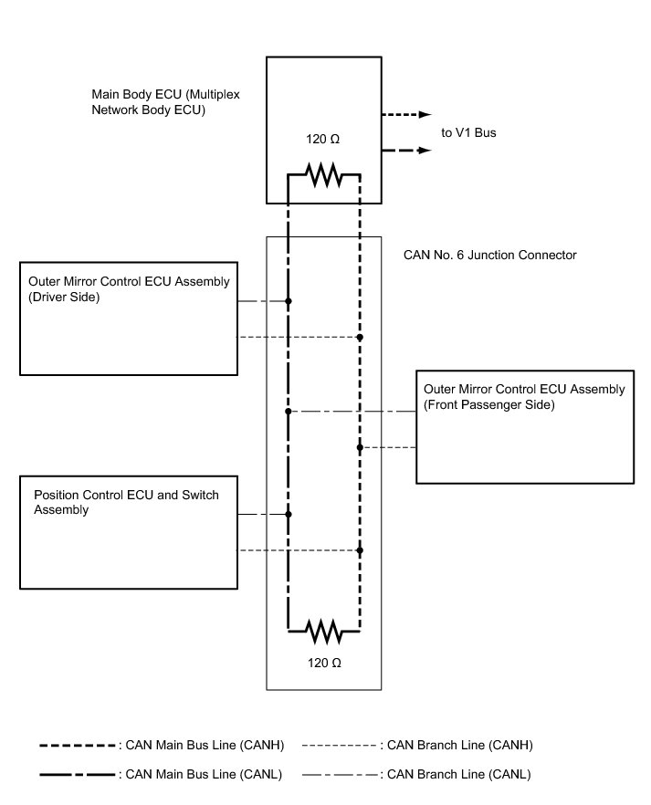
System Diagram
System Diagram
NETWORKING: CAN COMMUNICATION SYSTEM: SYSTEM DIAGRAM
1.
V1 BUS
2.
V2 BUS
3.
POWER MANAGEMENT BUS
4.
CAN MS BUS (w/ Seat Position Memory)