Curiosii for ever!: Car repair manuals for everyone.

Wheel Alignment Standard






WHEEL ALIGNMENT STANDARD

1. MEASURE VEHICLE HEIGHT

NOTICE:
- Before inspecting the wheel alignment, adjust the vehicle height to the specified value.
- Be sure to perform measurement on a level surface.
- If it is necessary to go under the vehicle for measurement, confirm that the parking brake is applied and the vehicle is secured with chocks.
- Inspect while the vehicle is unloaded.
- The standard value shown here is a value that is used for adjusting the wheel alignment and does not indicate the height of an actual vehicle.







a. Bounce the vehicle up and down at the corners to stabilize the suspension.
b. Measure the vehicle height.

Measurement points:
A: Ground clearance of front lower No. 1 suspension arm bushing set bolt center
B: Ground clearance of rear No. 2 suspension arm set bolt center
C: Ground clearance of front wheel center
D: Ground clearance of rear wheel center










2. INSPECT CAMBER, CASTER AND STEERING AXIS INCLINATION

NOTICE: Inspect while the vehicle is unloaded.










a. Install a camber-caster-kingpin gauge and place the front wheels on the center of a turning radius gauge.
b. Inspect the camber, caster and steering axis inclination.






















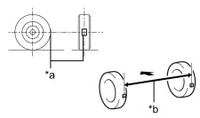
3. INSPECT TOE-IN (FRONT)

NOTICE: Inspect while the vehicle is unloaded.

a. Bounce the vehicle up and down at the corners to stabilize the suspension.
b. Release the parking brake and move the shift lever to N.
c. Push the vehicle straight ahead approximately 5 m (16.4 ft.). (Step C)










d. Put tread center marks on the rearmost points of the front wheels and measure the distance between the marks (dimension B).
e. Slowly push the vehicle straight ahead to cause the front wheels to rotate 180° using the front tire valve as a reference point.

HINT: Do not allow the wheels to rotate more than 180°. If the wheels rotate more than 180°, perform the procedure from Step C again.

f. Measure the distance between the tread center marks on the front side of the wheels (dimension A).













HINT:
- Measure "B - A" only when "C + D" cannot be measured.
- If the toe-in is not within the specified range, adjust it at the rack ends.

4. INSPECT WHEEL ANGLE










a. Put tread center marks on the rearmost points of a turning radius gauge.
b. Turn the steering wheel fully to the left and right and measure the turning angle.

NOTICE:
- Inspect while the vehicle is unloaded.










- If the right and left inside wheel angles differ from the specified value, check and adjust the right and left rack end lengths.

5. INSPECT CAMBER (REAR)










a. Install a camber-caster-kingpin gauge.
b. Inspect the camber.










HINT: Camber is not adjustable. If the measurement is not within the specified range, inspect the suspension parts for damage and/or wear, and replace them if necessary.

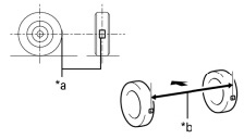
6. INSPECT TOE-IN (REAR)

NOTICE: Inspect while the vehicle is unloaded.

a. Bounce the vehicle up and down at the corners to stabilize the suspension.
b. Release the parking brake and move the shift lever to N.
c. Push the vehicle straight ahead approximately 5 m (16.4 ft.). (Step A)
d. Put tread center marks on the rearmost points of the rear wheels and measure the distance between the marks (dimension B).










e. Slowly push the vehicle straight ahead to cause the rear wheels to rotate 180° using the rear tire valve as a reference point.

HINT: Do not allow the wheels to rotate more than 180°. If the wheels rotate more than 180°, perform the procedure from Step A again.

f. Measure the distance between the tread center marks on the front side of the rear wheels (dimension A).













HINT:
- Measure "B - A" only when "C + D" cannot be measured.
- If the toe-in is not within the specified range, adjust it at the rear No. 1 suspension arms.