Curiosii for ever!: Car repair manuals for everyone.

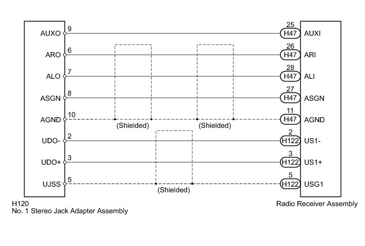
Sound Signal Circuit Between Radio Receiver and Stereo Jack Adapter





AUDIO / VIDEO: AUDIO AND VISUAL SYSTEM (w/o Navigation System): Sound Signal Circuit between Radio Receiver and Stereo Jack Adapter
- Sound Signal Circuit between Radio Receiver and Stereo Jack Adapter

DESCRIPTION

The No. 1 stereo jack adapter assembly sends the sound signal from an external device to the radio receiver assembly through this circuit.

The sound signal that has been sent is amplified by the stereo component amplifier assembly or radio receiver assembly, and then is sent to the speakers.

If there is an open or short in the circuit, sound cannot be heard from the speakers even if there is no malfunction in the stereo component amplifier assembly*1, radio receiver assembly, DCM (telematics transceiver)*2 or speakers.

* *1: for 10 Speakers

* *2: w/ Manual (SOS) Switch

WIRING DIAGRAM

1. for 10 Speakers





2. for 6 Speakers





INSPECTION PROCEDURE

PROCEDURE

1. CHECK HARNESS AND CONNECTOR (RADIO RECEIVER ASSEMBLY - NO. 1 STEREO JACK ADAPTER ASSEMBLY)

(a) Disconnect the No. 1 stereo jack adapter assembly and radio receiver assembly connectors.

(b) Measure the resistance according to the value(s) in the table below.





Standard Resistance:

for 10 Speakers





for 6 Speakers





Text in Illustration





NG -- REPAIR OR REPLACE HARNESS OR CONNECTOR

OK -- PROCEED TO NEXT SUSPECTED AREA SHOWN IN PROBLEM SYMPTOMS TABLE Problem Symptoms Table