Curiosii for ever!: Car repair manuals for everyone.

Navigation ECU Power Source Circuit





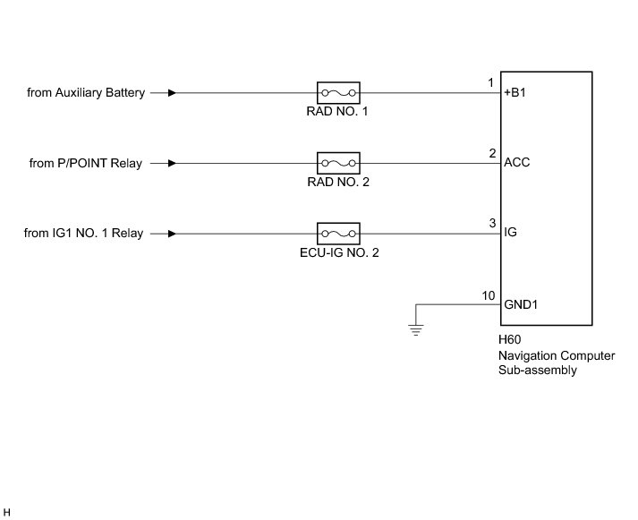
NAVIGATION / MULTI INFO DISPLAY: NAVIGATION SYSTEM (for HDD): Navigation ECU Power Source Circuit
- Navigation ECU Power Source Circuit

DESCRIPTION

This is the power source circuit to operate the navigation computer sub-assembly.

WIRING DIAGRAM





INSPECTION PROCEDURE

NOTICE:
Inspect the fuses for circuits related to this system before performing the following inspection procedure.

PROCEDURE

1. CHECK HARNESS AND CONNECTOR (NAVIGATION COMPUTER SUB-ASSEMBLY POWER SOURCE)

(a) Disconnect the H60 navigation computer sub-assembly connector.

(b) Measure the resistance according to the value(s) in the table below.

Standard Resistance:





(c) Measure the voltage according to the value(s) in the table below.

Standard Voltage:





NG -- REPAIR OR REPLACE HARNESS OR CONNECTOR

OK -- PROCEED TO NEXT SUSPECTED AREA SHOWN IN PROBLEM SYMPTOMS TABLE Problem Symptoms Table