Curiosii for ever!: Car repair manuals for everyone.

Cranking Holding Function Circuit





1UR-FSE ENGINE CONTROL SYSTEM: SFI SYSTEM: Cranking Holding Function Circuit
- Cranking Holding Function Circuit

DESCRIPTION

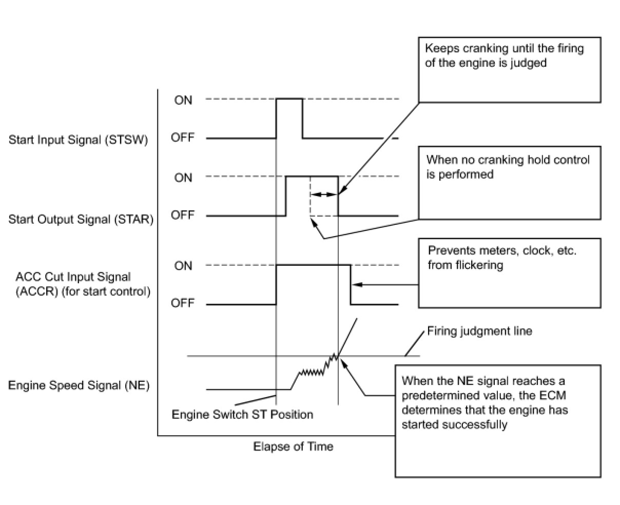
The cranking holding control system provides current to the starter when the ECM detects the engine switch's start signal (STSW). When the ECM performs a firing judgment, the system cuts current to the starter. When the ECM receives the STSW signal, it turns on the ST CUT relay, which prevents flickering of the combination meter, clock, audio system, etc. Also, the ECM sends a signal to the ECM's STAR terminal. Then the STAR output signal travels through the park/neutral position (PNP) switch to the ST relay, causing the starter to activate.

When the engine is cranking, the starter operation signal is sent to the ECM's STA terminal.





WIRING DIAGRAM

Refer to DTC P0617 P0617.

INSPECTION PROCEDURE

PROCEDURE

1. CHECK OPERATION OF CRANKING

(a) When starting the engine, check whether the starter motor starts.

Result:





B -- PROCEED TO NEXT CIRCUIT INSPECTION SHOWN IN PROBLEM SYMPTOMS TABLE Symptom Related Diagnostic Procedures
A -- Continue to next step.

2. CHECK SMART ACCESS SYSTEM WITH PUSH-BUTTON START (ENGINE DOES NOT START)

(a) Refer to Smart Access System With Push-button Start [Engine does not Start] Engine Does Not Start.

NG -- REPAIR SMART ACCESS SYSTEM WITH PUSH-BUTTON START (ENGINE DOES NOT START) Engine Does Not Start
OK -- Continue to next step.

3. READ VALUE USING TECHSTREAM (STARTER SIGNAL)

(a) Connect the Techstream to the DLC3.

(b) Turn the engine switch on (IG) and turn the Techstream on.

(c) Enter the following menus: Powertrain / Engine / Data List / All Data / Starter Signal.

(d) Check the result when the engine switch is turned on (IG) and the engine is started.

Standard:





OK -- INSPECT STARTER RELAY (ST)
NG -- Continue to next step.

4. INSPECT ECM (STAR AND STSW VOLTAGE)

(a) Measure the voltage according to the value(s) in the table below while cranking the engine.





Standard voltage:





Result:





C -- GO TO SMART ACCESS SYSTEM WITH PUSH-BUTTON START Engine Does Not Start

B -- REPLACE ECM Removal
A -- Continue to next step.

5. INSPECT STARTER CUT RELAY (ST CUT)

(a) Remove the ST CUT relay from the engine room No. 2 relay block.





(b) Measure the resistance according to the value(s) in the table below.

Standard resistance:





NG -- REPLACE STARTER CUT RELAY (ST CUT) Starter Cut Relay
OK -- Continue to next step.

6. INSPECT PARK/NEUTRAL POSITION SWITCH ASSEMBLY

(a) Disconnect the park/neutral position (PNP) switch connector.





(b) Measure the resistance according to the value(s) in the table below.

Standard resistance:





NG -- REPLACE PARK/NEUTRAL POSITION SWITCH ASSEMBLY Removal
OK -- Continue to next step.

7. CHECK HARNESS AND CONNECTOR (STARTER CUT RELAY (ST CUT) - PARK/NEUTRAL POSITION SWITCH, ECM)

(a) Remove the ST CUT relay from the engine room No. 2 relay block.





(b) Disconnect the E49 PNP switch connector.

(c) Disconnect the A14 ECM connector.

(d) Measure the resistance according to the value(s) in the table below.

Standard resistance (Check for open):





Standard resistance (Check for short):





NG -- REPAIR OR REPLACE HARNESS OR CONNECTOR
OK -- Continue to next step.

8. CHECK HARNESS AND CONNECTOR (STARTER CUT RELAY (ST CUT) - IGNITION RELAY NO. 2 (IG2), BODY GROUND)

(a) Remove the IG2 relay from the engine room No. 2 relay block.





(b) Remove the ST CUT relay from the engine room No. 2 relay block.

(c) Measure the resistance according to the value(s) in the table below.

Standard resistance (Check for open):





Standard resistance (Check for short):





NG -- REPLACE ENGINE ROOM NO. 2 RELAY BLOCK, JUNCTION BLOCK

OK -- REPLACE HARNESS OR CONNECTOR (IGNITION RELAY NO. 2 (IG2) - BATTERY)

9. INSPECT STARTER RELAY (ST)

(a) Remove the ST relay from the engine room No. 2 relay block.





(b) Measure the resistance according to the value(s) in the table below.

Standard resistance:





NG -- REPLACE STARTER RELAY (ST) Starter Relay
OK -- Continue to next step.

10. CHECK HARNESS AND CONNECTOR (STARTER RELAY (ST) - PARK/NEUTRAL POSITION SWITCH, BODY GROUND)

(a) Remove the ST relay from the engine room No. 2 relay block.





(b) Disconnect the E49 PNP switch connector.

(c) Measure the resistance according to the value(s) in the table below.

Standard resistance (Check for open):





Standard resistance (Check for short):





NG -- REPAIR OR REPLACE HARNESS OR CONNECTOR
OK -- Continue to next step.

11. INSPECT STARTER ASSEMBLY

(a) Inspect the starter assembly Testing and Inspection.

NG -- REPLACE STARTER ASSEMBLY Removal
OK -- Continue to next step.

12. CHECK HARNESS AND CONNECTOR (STARTER ASSEMBLY - STARTER RELAY (ST), BATTERY)

(a) Remove the ST relay from the engine room No. 2 relay block.





(b) Disconnect the E25 and F1 starter connectors.

(c) Disconnect the cable from the positive battery terminal.

(d) Measure the resistance according to the value(s) in the table below.

Standard resistance (Check for open):





Standard resistance (Check for short):





NG -- REPAIR OR REPLACE HARNESS OR CONNECTOR

OK -- REPAIR OR REPLACE HARNESS OR CONNECTOR (STARTER RELAY (ST) - BATTERY)