Curiosii for ever!: Car repair manuals for everyone.

Skid Control ECU Communication Stop Mode





NETWORKING: CAN COMMUNICATION SYSTEM: Skid Control ECU Communication Stop Mode
- Skid Control ECU Communication Stop Mode

DESCRIPTION





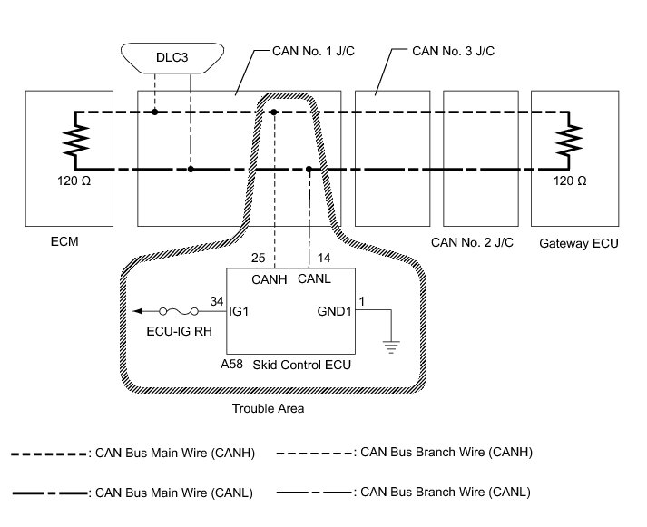
WIRING DIAGRAM





INSPECTION PROCEDURE

NOTICE:
* Turn the engine switch off before measuring the resistances between CAN bus main wires and between CAN bus branch wires.
* Turn the engine switch off before inspecting CAN bus wires for a ground short.
* After the engine switch is turned off, check that the key reminder warning system and light reminder warning system are not operating.
* Before measuring the resistance, leave the vehicle as is for at least 1 minute and do not operate the engine switch, any other switches or the doors. If any doors need to be opened in order to check connectors, open the doors and leave them open.

HINT
* Operating the engine switch, any other switches or a door triggers related ECU and sensor communication on the CAN. This communication will cause the resistance value to change.
* Even after DTCs are cleared, if a DTC is stored again after driving the vehicle for a while, the malfunction may be occurring due to vibration of the vehicle. In such a case, wiggling the ECUs or wire harness while performing the inspection below may help determine the cause of the malfunction.

PROCEDURE

1. CHECK DTC OUTPUT

(a) Connect the Techstream to the DLC3.

(b) Turn the engine switch on (IG).

(c) Turn the Techstream on.

(d) Enter the following menus: Chassis / ABS/VSC/TRAC / DTC.

(e) Check for DTCs.

OK:

DTC C1241 is not output.

NG -- GO TO DTC CHART C1241
OK -- Continue to next step.

2. CHECK FOR OPEN IN CAN BUS WIRE (SKID CONTROL ECU BRANCH WIRE)

(a) Turn the engine switch off.

(b) Disconnect the brake actuator assembly (skid control ECU) connector.





Text in Illustration





(c) Measure the resistance according to the value(s) in the table below.

Standard Resistance:





NG -- REPAIR OR REPLACE SKID CONTROL ECU BRANCH WIRE OR CONNECTOR (CANH, CANL)

OK -- REPLACE BRAKE ACTUATOR ASSEMBLY (SKID CONTROL ECU) Removal