Curiosii for ever!: Car repair manuals for everyone.

Driver Side Power Window Does Not Operate With Power Window Master Switch





WINDOW / GLASS: POWER WINDOW CONTROL SYSTEM: Driver Side Power Window does not Operate with Power Window Master Switch
- Driver Side Power Window does not Operate with Power Window Master Switch

DESCRIPTION

When the engine is running or the engine switch is on (IG), the power window regulator motor assembly (for driver side) is operated by the power window regulator master switch assembly. The power window regulator motor assembly (for driver side) has motor, regulator, and sensor functions.

WIRING DIAGRAM





INSPECTION PROCEDURE

NOTICE:
* When the the power window regulator master switch assembly is removed, the power window control system must be initialized Initialization.
* The power window control system uses a BEAN communication system. Inspect the communication function by following How to Proceed with Troubleshooting How To Proceed With Troubleshooting. Troubleshoot the power window control system after confirming that the communication system is functioning properly.
* Inspect the fuses for circuits related to this system before performing the following inspection procedure.

PROCEDURE

1. PERFORM ACTIVE TEST USING TECHSTREAM

(a) Connect the Techstream to the DLC3.

(b) Turn the engine switch on (IG).

(c) Turn the Techstream on.

(d) Enter the following menus: Body Electrical / Master Switch / Active Test.

(e) Perform the Active Test according to the display on the Techstream.

Master Switch (Power Window Regulator Master Switch Assembly)





OK:

Driver door power window operates normally.

CAUTION:
Be careful to avoid injuries as this test causes vehicle parts to move. During the Active Test, the jam protection function will not operate.

NG -- CHECK HARNESS AND CONNECTOR (MASTER SWITCH - BODY GROUND AND BATTERY)

OK -- REPLACE POWER WINDOW REGULATOR MASTER SWITCH ASSEMBLY Removal

2. CHECK HARNESS AND CONNECTOR (MASTER SWITCH - BODY GROUND AND BATTERY)

(a) Disconnect the power window regulator master switch assembly connector.





(b) Measure the resistance and voltage according to the value(s) in the table below.

Standard Resistance:





Standard Voltage:





Text in Illustration





NG -- REPAIR OR REPLACE HARNESS OR CONNECTOR
OK -- Continue to next step.

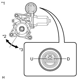
3. INSPECT POWER WINDOW REGULATOR MOTOR ASSEMBLY (for Driver Side)

(a) Remove the power window regulator motor assembly (for driver side) Removal.





(b) Check power window regulator motor operation:

(1) Apply battery voltage to connector terminals 1 and 2.

NOTICE:
Do not apply battery voltage to any terminals except terminals 1 and 2.

(2) Check that the motor gear rotates smoothly as follows.

OK:





Text in Illustration





(c) Check PTC operation:

NOTICE:
This check must be performed with the power window regulator and door glass installed on the vehicle.

(1) Install the power window regulator motor assembly (for driver side) Installation.

(2) Reconnect the power window regulator master switch connector.

(3) Initialize the power window regulator master switch assembly Initialization.

(4) Connect an electrical tester DC 400 A probe to the wire harness of terminal 2.





Text in Illustration





NOTICE:
Match the arrow mark of the probe with the direction of the current flow.

(5) Fully close the door glass by pulling up the power window regulator master switch assembly. Wait for approximately 60 seconds.

(6) Continue to pull up the power window regulator master switch assembly and measure how long it takes for the electrical current to change from a range of 16 to 28 A to approximately 1 A (current shut-off inspection).

Standard:

4 to 90 seconds

(7) Wait for 60 seconds after the previous step, and then press the power window regulator master switch assembly.

OK:

The driver door window goes down.

NG -- REPLACE POWER WINDOW REGULATOR MOTOR ASSEMBLY (for Driver Side) Removal
OK -- Continue to next step.

4. CHECK HARNESS AND CONNECTOR (MASTER SWITCH - REGULATOR MOTOR (for Driver Side))

(a) Disconnect the power window regulator master switch connector.

(b) Disconnect the power window regulator motor assembly (for driver side) connector.





(c) Measure the resistance according to the value(s) in the table below.

Standard Resistance:





Text in Illustration





NG -- REPAIR OR REPLACE HARNESS OR CONNECTOR

OK -- REPLACE POWER WINDOW REGULATOR MASTER SWITCH ASSEMBLY Removal