Curiosii for ever!: Car repair manuals for everyone.

VC Output Circuit





4GR-FSE ENGINE CONTROL: SFI SYSTEM: VC Output Circuit
- VC Output Circuit

DESCRIPTION

The ECM constantly produces 5 V from the battery voltage supplied to the +B (BATT) terminal to operate its microprocessor. The ECM also provides this power to the sensors through the VC output circuit.





When the VC circuit is shorted, the microprocessor in the ECM and sensors that are supplied power through the VC circuit are inactivated because the power is not supplied from the VC circuit. Under this condition, the system does not start up and the MIL does not illuminate even if the system malfunctions.

HINT
Under normal conditions, the MIL is illuminated for several seconds when the engine switch is first turned on (IG). The MIL goes off when the engine is started.

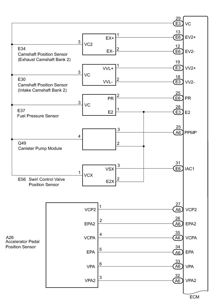
WIRING DIAGRAM









INSPECTION PROCEDURE

PROCEDURE

1. CHECK MIL

(a) Check that the Malfunction Indicator Lamp (MIL) illuminates when turning the engine switch on (IG).

OK:

MIL lights up.

NG -- CHECK CONNECTION BETWEEN TECHSTREAM AND ECM

OK -- PROCEED TO NEXT SUSPECTED AREA SHOWN IN PROBLEM SYMPTOMS TABLE Symptom Related Diagnostic Procedures

2. CHECK CONNECTION BETWEEN TECHSTREAM AND ECM

(a) Connect the Techstream to the DLC3.

(b) Turn the engine switch on (IG) and Techstream on.

(c) Check the communication between the Techstream and ECM.

Result:





B -- GO TO MIL CIRCUIT Testing and Inspection
A -- Continue to next step.

3. CHECK MIL (THROTTLE POSITION SENSOR)

(a) Disconnect the throttle body connector.

(b) Turn the engine switch on (IG).

(c) Check the MIL.

Result:





(d) Reconnect the throttle body connector.

B -- REPLACE THROTTLE BODY ASSEMBLY Removal
A -- Continue to next step.

4. CHECK MIL (ACCELERATOR PEDAL SENSOR)

(a) Disconnect the accelerator pedal position sensor connector.

(b) Turn the engine switch on (IG).

(c) Check the MIL.

Result:





(d) Reconnect the accelerator pedal position sensor connector.

B -- REPLACE ACCELERATOR PEDAL ASSEMBLY Removal
A -- Continue to next step.

5. CHECK MIL (VVT SENSOR FOR INTAKE CAMSHAFT BANK 1)

(a) Disconnect the VVT sensor for intake camshaft bank 1 connector.

(b) Turn the engine switch on (IG).

(c) Check the MIL.

Result:





(d) Reconnect the VVT sensor for intake camshaft bank 1 connector.

B -- REPLACE VVT SENSOR FOR INTAKE CAMSHAFT BANK 1 Removal
A -- Continue to next step.

6. CHECK MIL (VVT SENSOR FOR EXHAUST CAMSHAFT BANK 1)

(a) Disconnect the VVT sensor for exhaust camshaft bank 1 connector.

(b) Turn the engine switch on (IG).

(c) Check the MIL.

Result:





(d) Reconnect the VVT sensor for exhaust camshaft bank 1 connector.

B -- REPLACE VVT SENSOR FOR EXHAUST CAMSHAFT BANK 1 Removal
A -- Continue to next step.

7. CHECK MIL (VVT SENSOR FOR INTAKE CAMSHAFT BANK 2)

(a) Disconnect the VVT sensor for intake camshaft bank 2 connector.

(b) Turn the engine switch on (IG).

(c) Check the MIL.

Result:





(d) Reconnect the VVT sensor for intake camshaft bank 2 connector.

B -- REPLACE VVT SENSOR FOR INTAKE CAMSHAFT BANK 2 Removal
A -- Continue to next step.

8. CHECK MIL (VVT SENSOR FOR EXHAUST CAMSHAFT BANK 2)

(a) Disconnect the VVT sensor for exhaust camshaft bank 2 connector.

(b) Turn the engine switch on (IG).

(c) Check the MIL.

Result:





(d) Reconnect the VVT sensor for exhaust camshaft bank 2 connector.

B -- REPLACE VVT SENSOR FOR EXHAUST CAMSHAFT BANK 2 Removal
A -- Continue to next step.

9. CHECK MIL (FUEL PRESSURE SENSOR)

(a) Disconnect the fuel pressure sensor connector.

(b) Turn the engine switch on (IG).

(c) Check the MIL.

Result:





(d) Reconnect the fuel pressure sensor connector.

B -- REPLACE FUEL PRESSURE SENSOR Removal
A -- Continue to next step.

10. CHECK MIL (CHARCOAL CANISTER ASSEMBLY)

(a) Disconnect the canister pump module connector.

(b) Turn the engine switch on (IG).

(c) Check the MIL.

Result:





(d) Reconnect the canister pump module connector.

B -- REPLACE CHARCOAL CANISTER ASSEMBLY Removal
A -- Continue to next step.

11. CHECK MIL (SWIRL CONTROL VALVE POSITION SENSOR)

(a) Disconnect the swirl control valve position sensor connector.

(b) Turn the engine switch on (IG).

(c) Check the MIL.

Result:





(d) Reconnect the swirl control valve position sensor connector.

B -- REPLACE INTAKE MANIFOLD (SWIRL CONTROL VALVE POSITION SENSOR) Removal
A -- Continue to next step.

12. CHECK HARNESS AND CONNECTOR

(a) Disconnect the throttle body assembly connector.

(b) Disconnect the accelerator pedal position sensor connector.

(c) Disconnect the VVT sensor for intake camshaft bank 1 connector.

(d) Disconnect the VVT sensor for exhaust camshaft bank 1 connector.

(e) Disconnect the VVT sensor for intake camshaft bank 2 connector.

(f) Disconnect the VVT sensor for exhaust camshaft bank 2 connector.

(g) Disconnect the fuel pressure sensor connector.

(h) Disconnect the canister pump module connector.

(i) Disconnect the swirl control valve position sensor connector.

(j) Disconnect the ECM connectors.

(k) Measure the resistance according to the value(s) in the table below.

Standard Resistance (Check for Short):





(l) Reconnect the ECM connectors.

(m) Reconnect the canister pump module connector.

(n) Reconnect the fuel pressure sensor connector.

(o) Reconnect the VVT sensor for exhaust camshaft bank 2 connector.

(p) Reconnect the VVT sensor for intake camshaft bank 2 connector.

(q) Reconnect the VVT sensor for exhaust camshaft bank 1 connector.

(r) Reconnect the VVT sensor for intake camshaft bank 1 connector.

(s) Reconnect the accelerator pedal position sensor connector.

(t) Reconnect the throttle body assembly connector.

(u) Reconnect the swirl control valve position sensor connector.

NG -- REPAIR OR REPLACE HARNESS OR CONNECTOR

OK -- REPLACE ECM Removal