Curiosii for ever!: Car repair manuals for everyone.

Seat Belt Control ECU Communication Stop Mode





NETWORKING: CAN COMMUNICATION SYSTEM: Seat Belt Control ECU Communication Stop Mode
- Seat Belt Control ECU Communication Stop Mode

DESCRIPTION





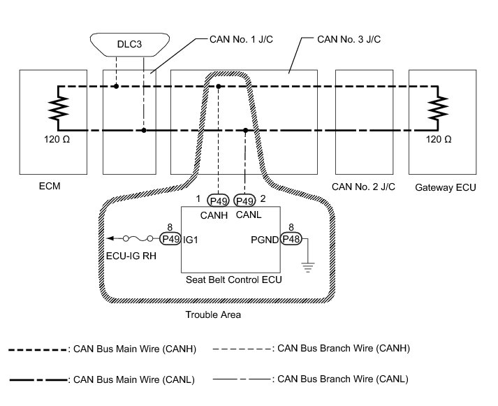
WIRING DIAGRAM





INSPECTION PROCEDURE

NOTICE:
* Turn the engine switch off before measuring the resistances between CAN bus main wires and between CAN bus branch wires.
* Turn the engine switch off before inspecting CAN bus wires for a ground short.
* After the engine switch is turned off, check that the key reminder warning system and light reminder warning system are not operating.
* Before measuring the resistance, leave the vehicle as is for at least 1 minute and do not operate the engine switch, any other switches or the doors. If any doors need to be opened in order to check connectors, open the doors and leave them open.

HINT
* Operating the engine switch, any other switches or a door triggers related ECU and sensor communication on the CAN. This communication will cause the resistance value to change.
* Even after DTCs are cleared, if a DTC is stored again after driving the vehicle for a while, the malfunction may be occurring due to vibration of the vehicle. In such a case, wiggling the ECUs or wire harness while performing the inspection below may help determine the cause of the malfunction.

PROCEDURE

1. CHECK FOR OPEN IN CAN BUS WIRE (SEAT BELT CONTROL ECU BRANCH WIRE)

(a) Turn the engine switch off.

(b) Disconnect the seat belt control ECU connector.





Text in Illustration





(c) Measure the resistance according to the value(s) in the table below.

Standard Resistance:





NG -- REPAIR OR REPLACE SEAT BELT CONTROL ECU BRANCH WIRE OR CONNECTOR (CANH, CANL)
OK -- Continue to next step.

2. CHECK WIRE HARNESS (POWER SOURCE CIRCUIT)

(a) Measure the resistance according to the value(s) in the table below.





Standard Resistance:





(b) Measure the voltage according to the value(s) in the table below.

Standard Voltage:





Text in Illustration





NG -- REPAIR OR REPLACE HARNESS OR CONNECTOR (POWER SOURCE CIRCUIT)

OK -- REPLACE SEAT BELT CONTROL ECU Removal