Curiosii for ever!: Car repair manuals for everyone.

Disassembly





AIR CONDITIONING: AIR CONDITIONING PANEL: DISASSEMBLY

1. REMOVE CENTER INSTRUMENT CLUSTER FINISH PANEL

(a) Remove the 6 screws.





(b) Disengage the 5 claws, and remove the center instrument cluster finish panel.





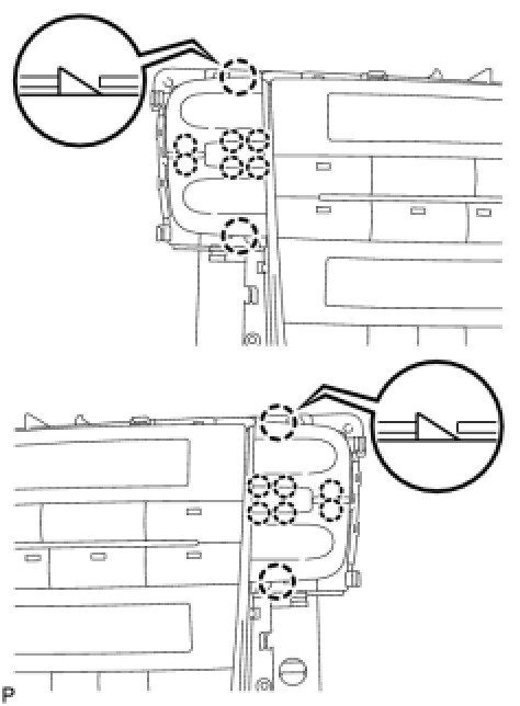
2. REMOVE NO. 1 CONTROL KNOB SUB-ASSEMBLY

(a) Disengage the 16 claws, and remove the No. 1 control knob sub-assembly.