Curiosii for ever!: Car repair manuals for everyone.

CAN Communication System





CAN COMMUNICATION: CAN COMMUNICATION SYSTEM: TERMINALS OF ECU

NOTICE:
This section describes the standard CAN values for all CAN related components.

1. JUNCTION CONNECTOR

(a) The terminals on connectors for the CAN J/C.









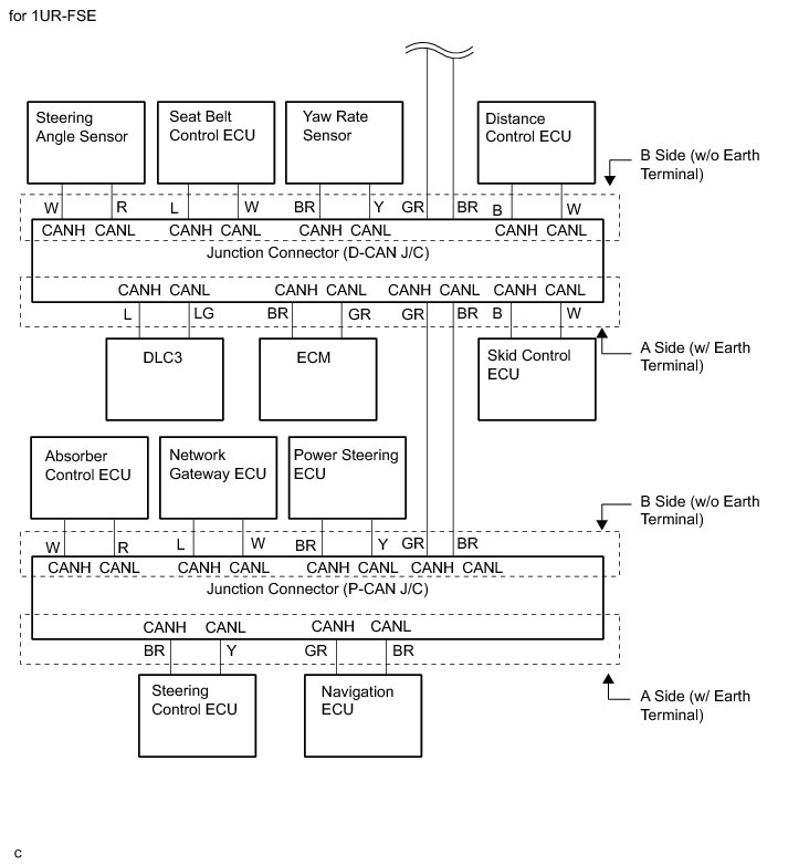
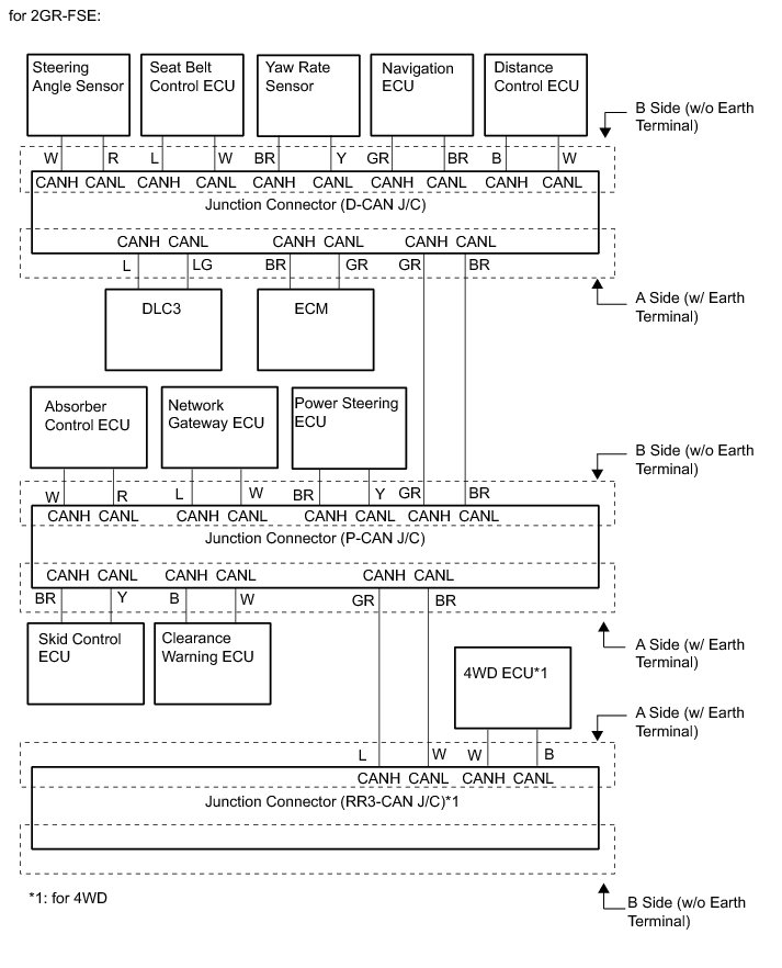
(b) D-CAN J/C.





Wiring color





Wiring color





HINT
* The connectors connected to the CAN J/C can be distinguished by the colors of the bus lines and the connecting side of the connector.
* The connectors can be connected to any terminals on the same side.

(c) P-CAN J/C.





Wiring color





Wiring color





HINT
* The connectors connected to the CAN J/C can be distinguished by the colors of the bus lines and the connecting side of the connector.
* The connectors can be connected to any terminals on the same side.

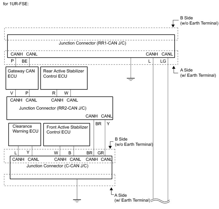
(d) C-CAN J/C (for 1UR-FSE)





Wiring color





HINT
* The connectors connected to the CAN J/C can be distinguished by the colors of the bus lines and the connecting side of the connector.
* The connectors can be connected to any terminals on the same side.

(e) RR1-CAN J/C (for 1UR-FSE)





Wiring color





HINT
* The connectors connected to the CAN J/C can be distinguished by the colors of the bus lines and the connecting side of the connector.
* The connectors can be connected to any terminals on the same side.

(f) RR2-CAN J/C (for 1UR-FSE)









(g) RR3-CAN J/C (for 4WD)





Wiring color





HINT
* The connectors connected to the CAN J/C can be distinguished by the colors of the bus lines and the connecting side of the connector.
* The connectors can be connected to any terminals on the same side.

(h) Wiring diagram for identifying CAN J/C connectors













2. DLC3

(a) Measure the resistance according to the value(s) in the table below.





Standard resistance





3. SKID CONTROL ECU (for 1UR-FSE)

(a) Measure the resistance according to the value(s) in the table below.





Standard resistance





4. SKID CONTROL ECU (for 2GR-FSE)

(a) Measure the resistance according to the value(s) in the table below.





Standard resistance





5. STEERING ANGLE SENSOR

(a) Measure the resistance according to the value(s) in the table below.





Standard resistance





6. YAW RATE SENSOR

(a) Measure the resistance according to the value(s) in the table below.





Standard resistance





7. DISTANCE CONTROL ECU (w/ Dynamic radar cruise control system)

(a) Measure the resistance according to the value(s) in the table below.





Standard resistance





8. ECM (for 2GR-FSE)

(a) Measure the resistance according to the value(s) in the table below.





Standard resistance





9. ECM (for 1UR-FSE)

(a) Measure the resistance according to the value(s) in the table below.





Standard resistance





10. SEAT BELT CONTROL ECU (w/ Pre-collision system)

(a) Measure the resistance according to the value(s) in the table below.





Standard resistance





11. POWER STEERING ECU

(a) Measure the resistance according to the value(s) in the table below.





Standard resistance





12. STEERING CONTROL ECU (for 1UR-FSE)

(a) Measure the resistance according to the value(s) in the table below.





Standard resistance





13. CLEARANCE WARNING ECU (w/ Intuitive parking assist system)

(a) Measure the resistance according to the value(s) in the table below.





Standard resistance





14. NETWORK GATEWAY ECU

(a) Measure the resistance according to the value(s) in the table below.





Standard resistance





15. NAVIGATION ECU (DISPLAY AND NAVIGATION MODULE DISPLAY)





(a) Disconnect the navigation ECU (display and navigation module display) connector.





(b) Measure the resistance according to the value(s) in the table below.

Standard resistance





16. ABSORBER CONTROL ECU (for 1UR-FSE or 2GR-FSE, w/ Adaptive variable suspension system)

(a) Measure the resistance according to the value(s) in the table below.





Standard resistance





17. 4WD ECU (for 4WD)

(a) Measure the resistance according to the value(s) in the table below.





Standard resistance





18. GATEWAY CAN ECU (for 1UR-FSE, w/ Active stabilizer suspension system or w/ Intuitive parking assist system)

(a) Measure the resistance according to the value(s) in the table below.





Standard resistance





19. FRONT ACTIVE STABILIZER CONTROL ECU (for 1UR-FSE, w/ Active Stabilizer Suspension System)

(a) Measure the resistance according to the value(s) in the table below.





Standard resistance





20. REAR ACTIVE STABILIZER CONTROL ECU (for 1UR-FSE, w/ Active Stabilizer Suspension System)

(a) Measure the resistance according to the value(s) in the table below.





Standard resistance