Curiosii for ever!: Car repair manuals for everyone.

CAN Communication System





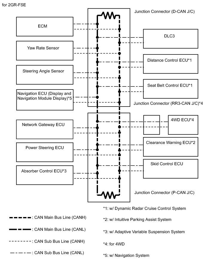
CAN COMMUNICATION: CAN COMMUNICATION SYSTEM: SYSTEM DIAGRAM

















HINT
* The skid control ECU detects and stores steering sensor and yaw rate sensor DTCs and performs DTC communication by receiving information from the steering sensor and yaw rate sensor.
* The ECM detects and stores distance control ECU DTCs, and performs DTC communication by receiving information from the distance control ECU.





SYSTEM DESCRIPTION

1. BRIEF DESCRIPTION

(a) The CAN (Controller Area Network) is a serial data communication system for real time application. It is a vehicle multiplex communication system which has a high communication speed (500 kbps) and the ability to detect malfunctions.

(b) By pairing the CANH and CANL bus lines, the CAN perform communication based on differential voltage.

(c) Many ECUs (sensors) installed on the vehicle operate by sharing information and communicating with each other.

(d) The CAN has two resistors of 120 Ohms which are necessary to communicate with the main bus line.

2. DEFINITION OF TERMS

(a) Main bus line

(1) The main bus line is a wire harness between the two terminus circuits on the bus (communication line). This is the main bus in the CAN communication system.

(b) Sub bus line

(1) The sub bus line is a wire harness which diverges from the main bus line to an ECU or sensor.

(c) Terminus circuit

(1) The terminus circuit is a circuit which converts communication current of the CAN communication into bus voltage. It consists of a resistor and a condenser. Two terminus circuits are necessary on a bus.

(d) CAN J/C

(1) The CAN J/C is designed so that it can be used with CAN communication which has termination circuits and CAN communication which does not have termination circuits.

3. CIRCUIT DESCRIPTION

(a) The CAN communication system consists of the CAN No. 1 bus and CAN No. 2 bus circuits, which are connected through the gateway CAN ECU.

(b) The CAN No. 1 bus and CAN No. 2 bus each have termination circuits with 120 Ohms of resistance. High speed communication at 500 kbps is possible.

4. ECUs OR SENSORS WHICH COMMUNICATE THROUGH CAN COMMUNICATION SYSTEM

(a) Skid control ECU

(b) Yaw rate sensor

(c) Steering angle sensor

(d) Seat belt control ECU

(e) Distance control ECU

(f) Absorber control ECU

(g) ECM

(h) Network gateway ECU

(i) Clearance warning ECU

(j) Power steering ECU

(k) Steering control ECU

(l) 4WD ECU

(m) Gateway CAN ECU

(n) Navigation ECU (Display and navigation module display)

(o) Front active stabilizer control ECU

(p) Rear active stabilizer control ECU

5. DIAGNOSTIC CODE FOR CAN COMMUNICATION SYSTEM

(a) DTCs for the CAN communication system are as follows: U0073, U0100, U0101, U0122, U0123, U0124, U0126, U0130, U0131, U0132, U0146, U0235, U1002, U1101, U1108, U1109 and U1110.

6. REMARK FOR TROUBLESHOOTING

(a) Trouble in the CAN bus (communication line) can be checked from the DLC3 (except when there is a wire break other than in the sub bus line of the DLC3).

NOTICE:
Do not insert the tester directly into the DLC3 connector. Be sure to use a service wire.

(b) DTCs reading the CAN communication system can be checked using the Techstream.

(c) The CAN communication system cannot detect trouble in the sub bus line of the DLC3 even though the DLC3 is also connected to the CAN communication system.

7. HOW TO DISTINGUISH THE CAN J/C CONNECTOR

(a) In the CAN communication system, the shape of all connectors connected to the CAN J/C is the same. The connectors connected to the CAN J/C can be distinguished by the colors of the bus line and the connecting side of the connector.

HINT
See "TERMINALS OF ECU" CAN Communication System for bus line color or the type of connecting surface.