Curiosii for ever!: Car repair manuals for everyone.

Fuse Block

Engine Room R/B No.1, Engine Room J/B No.1 - Near The Battery:




Engine Room R/B No.1, Engine Room J/B No.1 - Near The Battery:




Engine Room R/B No.2, Engine Room J/B No.2 - Engine Compartment Left:




Engine Room R/B No.2, Engine Room J/B No.2 - Engine Compartment Left:




Cowl Side J/B LH - Cowl Side Left:




Cowl Side J/B LH - Cowl Side Left:




Cowl Side J/B LH - Cowl Side Left:




Cowl Side J/B RH - Cowl Side Right:




Cowl Side J/B RH - Cowl Side Right:




Cowl Side J/B RH - Cowl Side Right:




Center J/B LH - Upper The Glove Box:




Center J/B RH - Upper The Glove Box:




Luggage Room J/B - Luggage Room Left:




Luggage Room J/B - Luggage Room Left:




Luggage Room J/B - Luggage Room Left:




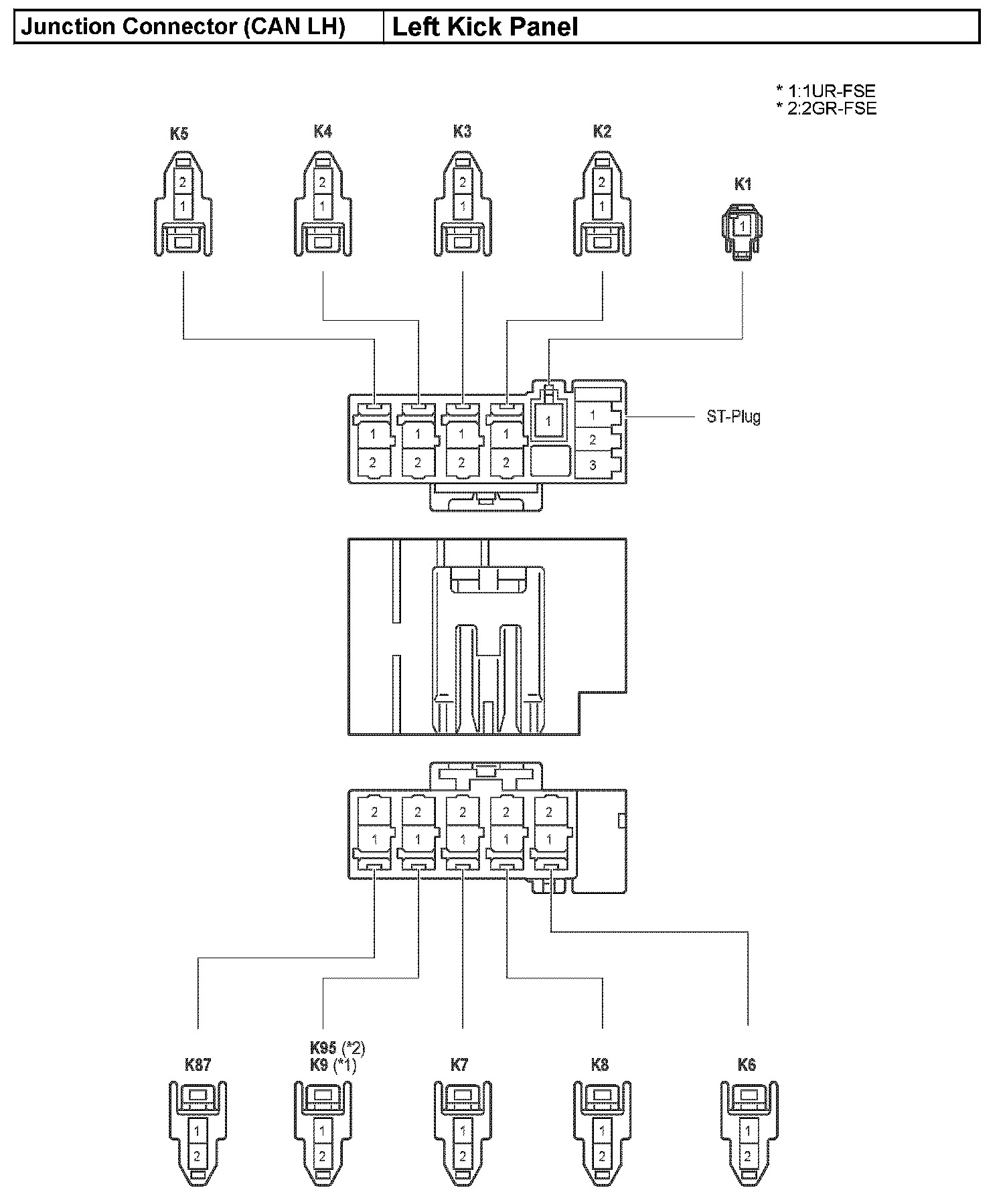
Junction Connector (CAN LH) - Left Kick Panel:




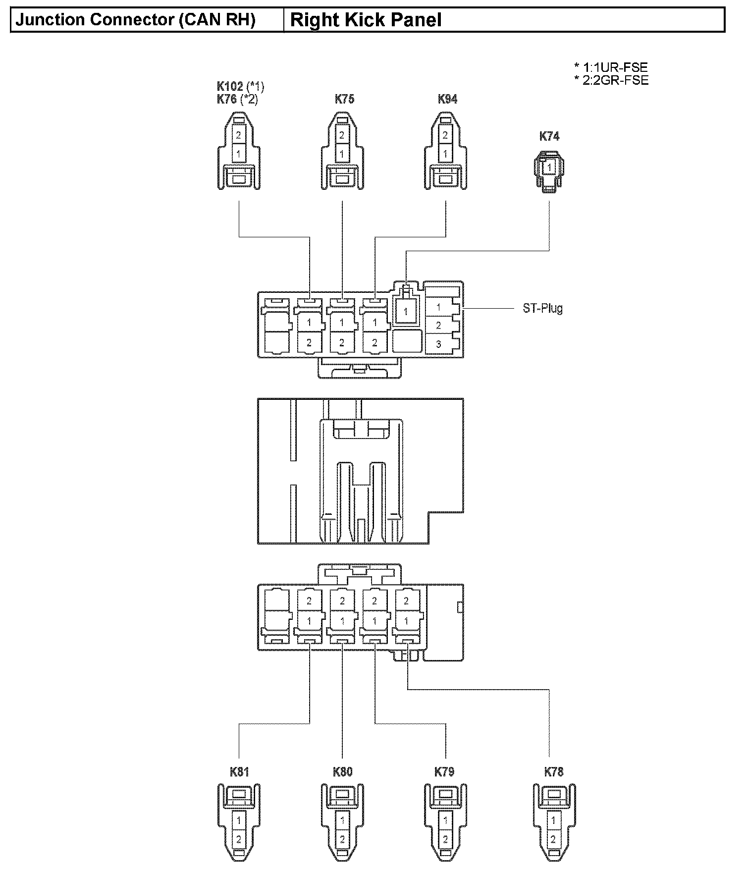
Junction Connector (CAN RH) - Right Kick Panel:




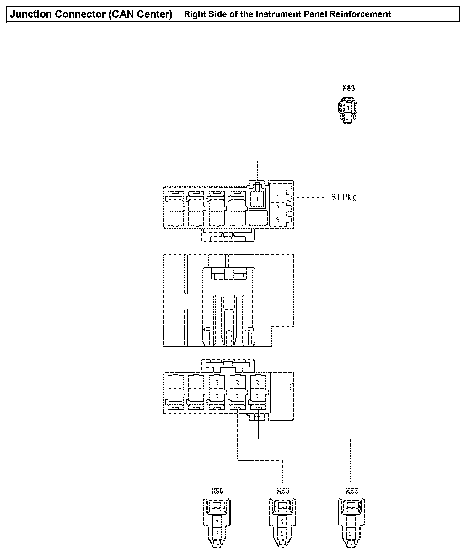
Junction Connector (CAN Center) - Right Side Of The Instrument Panel Reinforcement:




Junction Connector (CAN Luggage LH) - Luggage Room Left:




Junction Connector (CAN Luggage RH) - Luggage Room Right: