Curiosii for ever!: Car repair manuals for everyone.

Combination Meter ECU Communication Stop Mode





CAN COMMUNICATION: CAN COMMUNICATION SYSTEM: Combination Meter ECU Communication Stop Mode
- Combination Meter ECU Communication Stop Mode

DESCRIPTION





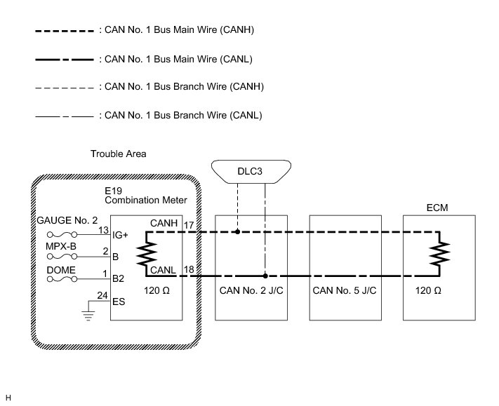
WIRING DIAGRAM





INSPECTION PROCEDURE

NOTICE:
* Turn the engine switch off before measuring the resistance of CAN bus main wires and CAN bus branch wires.
* After the engine switch is turned off, check that the key reminder warning system and light reminder warning system are not in operation.
* Before measuring the resistance, leave the vehicle as is for at least 1 minute and do not operate the engine switch, any other switches, or the doors. If any doors need to be opened in order to check connectors, open the doors and leave them open.

PROCEDURE

1. CHECK OPEN IN CAN NO. 1 BUS MAIN WIRE (COMBINATION METER MAIN BUS WIRE)

(a) Turn the engine switch off.





(b) Disconnect the combination meter connector.

(c) Measure the resistance according to the value(s) in the table below.

Standard resistance:





NG -- REPAIR OR REPLACE CAN NO. 1 BUS MAIN WIRE OR CONNECTOR (COMBINATION METER)
OK -- Continue to next step.

2. CHECK HARNESS AND CONNECTOR (ES, IG+, B, B2)

(a) Disconnect the combination meter connector.

(b) Measure the resistance according to the value(s) in the table below.





Standard resistance:





(c) Measure the voltage according to the value(s) in the table below.

Standard voltage:





NG -- REPAIR OR REPLACE HARNESS OR CONNECTOR

OK -- REPLACE COMBINATION METER Removal