Curiosii for ever!: Car repair manuals for everyone.

CAN Communication System





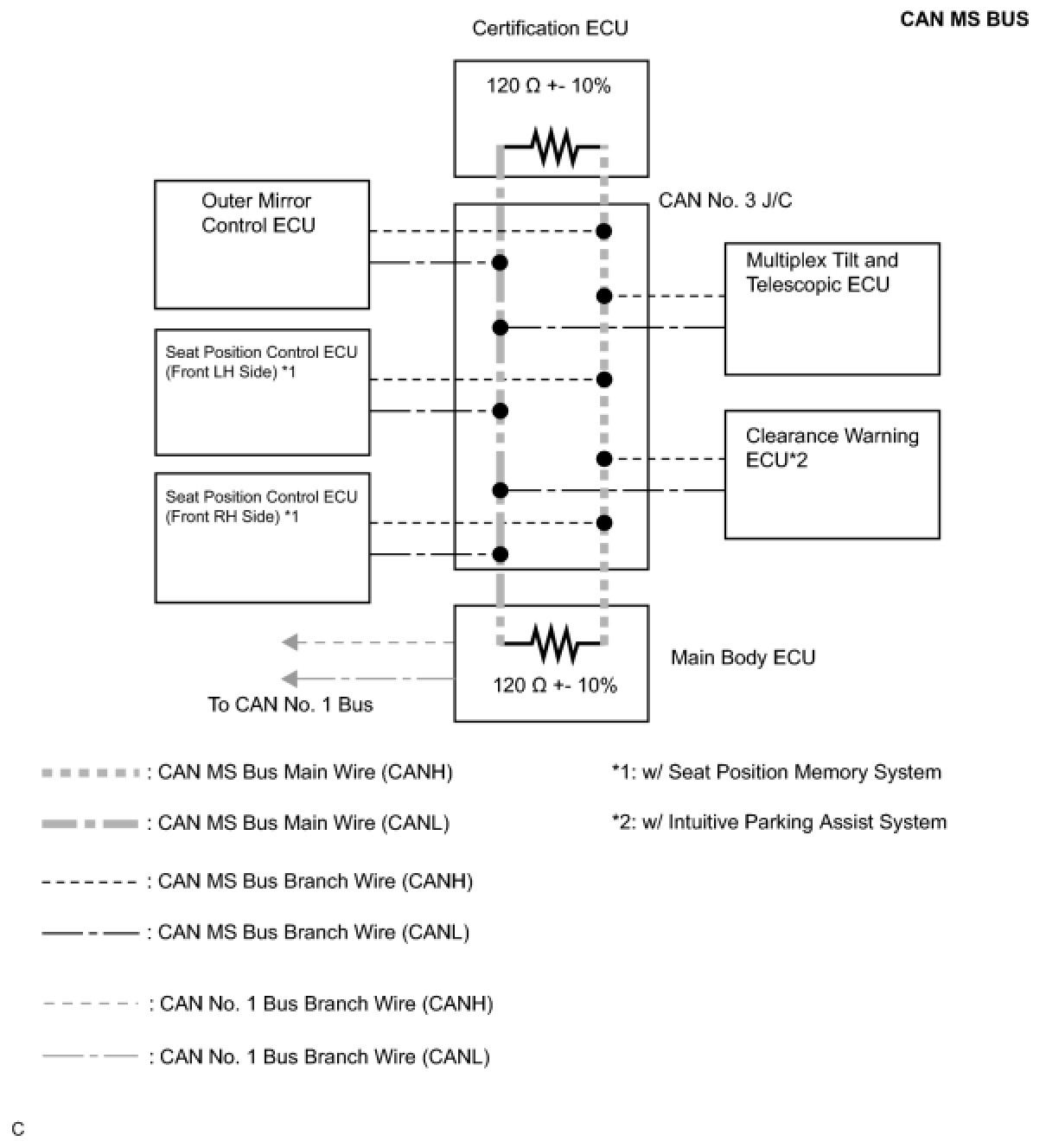
CAN COMMUNICATION: CAN COMMUNICATION SYSTEM: SYSTEM DIAGRAM













HINT
* The skid control ECU detects and stores steering angle sensor and yaw rate sensor DTCs and performs DTC communication by receiving information from the steering angle sensor and yaw rate sensor.
* The ECM uses the CAN communication system to perform DTC communication instead of the conventional line (SIL).





SYSTEM DESCRIPTION

1. BRIEF DESCRIPTION

(a) The CAN (Control Area Network) is a serial data communication system for real time application. It is a vehicle multiplex communication system which has a high communication speed and the ability to detect malfunctions.

(b) Two different types of CAN buses are used. The CAN buses are classified into two types based on typical communication speed.

The HS-CAN bus is a high speed communication bus that is used for powertrain, chassis, and some body electrical communication. The HS-CAN bus is referred to as "CAN No. 1 bus" and "CAN No. 2 bus". It operates at speeds of approximately 500 kbps. Terminating resistors for the CAN No. 1 bus are located in the combination meter and ECM. Terminating resistors for the CAN No. 2 bus are located in the gateway ECU and the CAN No. 4 J/C. The resistance of the CAN No. 2 bus cannot be measured from the DLC3 connector.

The MS-CAN bus is a medium speed communication bus that is used for body electrical communication. The MS-CAN bus is referred to as "MS bus" and it operates at speeds of approximately 250 kbps. Terminating resistors for the MS bus are located in the main body ECU and the certification ECU. The resistance of the MS CAN bus cannot be measured from the DLC3 connector.

Communication between these networks is handled via the main body ECU (for the CAN MS bus) or the gateway ECU (for the CAN No. 2 bus), which acts as a gateway.

(c) By pairing the CANH and CANL bus wires, the CAN performs communication based on differential voltage.

(d) Many ECUs (sensors) installed on the vehicle operate by sharing information and communicating with each other.

(e) The CAN has two resistors of 120 Ohms which are necessary to communicate with the main bus wire.

2. DEFINITION OF TERMS

(a) Main bus wire

(1) The main bus wire is a wire harness between the two terminating resistors on the bus (communication wire). This is the main bus in the CAN communication system.

(b) Branch wire

(1) The branch wire is a wire harness which diverges from the main bus wire to an ECU or sensor.

(c) Terminating resistors

(1) Two resistors of 120 Ohms are installed in parallel across the ends of the CAN main bus wire. They are called terminating resistors. These resistors allow the changes of the voltage differential between the CAN bus wires to be accurately judged. To allow proper function of CAN communication, it is necessary to have both terminating resistors installed. Since the two resistors are installed in parallel, a measurement of resistance between the two CAN bus wires should produce a reading of approximately 60 Ohms.

3. ECUS OR SENSORS WHICH COMMUNICATE THROUGH CAN COMMUNICATION SYSTEM

(a) Skid control ECU

(b) Yaw rate sensor

(c) Steering angle sensor

(d) Main body ECU

(e) Display and navigation module display (*1)

(f) Center airbag sensor

(g) ECM

(h) Gateway ECU (*6)

(i) Certification ECU

(j) Outer mirror control ECU

(k) Active control engine mount ECU

(l) Air conditioning amplifier

(m) Combination meter

(n) Clearance warning ECU (*2)

(o) Seat position control ECU (Front LH seat) (*3)

(p) Seat position control ECU (Front RH seat) (*3)

(q) AFS ECU

(r) Multiplex tilt and telescopic ECU

(s) Seat belt control ECU (*4)

(t) Distance control ECU (*5)

HINT
* (*1): with Navigation system
* (*2): with Intuitive parking assist system
* (*3): with Seat position memory system
* (*4): with Pre-collision system
* (*5): with Dynamic radar cruise control system
* (*6): with Dynamic radar cruise control system or pre-collision system

4. DIAGNOSTIC CODE FOR CAN COMMUNICATION SYSTEM

(a) DTCs for the CAN communication system are as follows: U0073, U0100, U0122, U0123, U0124, U0126, U0129, U1101, U0151, B2427, B2621, U1002, U0182, U1102, U1100, B1207, B1297, B1276, B1272, B1289, B1213, and B2326.

5. TROUBLESHOOTING REMARKS

(a) DTCs for the CAN communication system can be checked using the Techstream via the CAN VIM. The DLC3 is connected to the CAN communication system, but no DTCs exist regarding problems in the DLC3 or the DLC3 branch wires. If there is trouble in the DLC3 or the DLC3 branch wires, ECUs on the CAN cannot output codes to the Techstream via the CAN VIM.

(b) Trouble in the CAN buses (communication wires) can be checked by measuring the resistance between terminals of the DLC3. However, an open circuit in a branch wire other than the DLC3 branch wires cannot be checked from the DLC3.

NOTICE:
Do not insert the tester probes directly into the DLC3. Be sure to use service wires.

6. HOW TO DISTINGUISH THE CAN J/C CONNECTOR

(a) In the CAN communication system, the shape of all connectors connected to the CAN J/C is the same. The connectors connected to the CAN J/C can be distinguished by the colors of the bus wire and the connecting side of the junction connector.

HINT
See "TERMINALS OF ECU" CAN Communication System for bus wire color or the type of connecting surface.