Curiosii for ever!: Car repair manuals for everyone.

Circuit Opening Relay





3UZ-FE ENGINE CONTROL SYSTEM: CIRCUIT OPENING RELAY: ON-VEHICLE INSPECTION

1. DISCONNECT CABLE FROM NEGATIVE BATTERY TERMINAL

CAUTION:
Wait at least 90 seconds after disconnecting the cable from the negative (-) battery terminal to prevent airbag and seat belt pretensioner activation.

2. REMOVE CIRCUIT OPENING RELAY (Marking: C/OPN)

(a) Remove the engine room No. 2 relay block cover.

(b) Remove the circuit opening relay from the engine room No. 2 relay block.

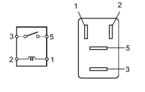
3. INSPECT CIRCUIT OPENING RELAY

(a) Measure the resistance of the circuit opening relay.





Standard resistance:





(a) If the result is not as specified, replace the relay.

4. INSTALL CIRCUIT OPENING RELAY

5. CONNECT CABLE TO NEGATIVE BATTERY TERMINAL

6. PERFORM INITIALIZATION

(a) Perform initialization Testing and Inspection.

NOTICE:
Certain systems need to be initialized after disconnecting and reconnecting the cable from the negative (-) battery terminal.