Curiosii for ever!: Car repair manuals for everyone.

Translate ECU Communication Stop Mode





CAN COMMUNICATION: CAN COMMUNICATION SYSTEM: Translate ECU Communication Stop Mode
- Translate ECU Communication Stop Mode

DESCRIPTION





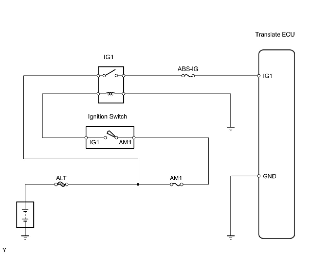
WIRING DIAGRAM





INSEPCTION PROCEDURE

PROCEDURE

1. CHECK WIRE HARNESS (TRANSLATE ECU - BATTERY AND BODY GROUND)

(a) Disconnect the T28 translate ECU connector.





(b) Measure the resistance of the wire harness side connector.

Standard resistance:





(c) Measure the voltage of the wire harness side connector.

Standard voltage:





NG -- REPAIR OR REPLACE HARNESS AND CONNECTOR

OK -- REPLACE TRANSLATE ECU